Запорные клапаны относятся к запорной арматуре двухпозиционного действия и могут применяться только для открытия или перекрытия трубопроводов.
Назначение: служат для полного перекрытия/открытия потока рабочей среды путем возвратно-поступательного перемещения запорного органа.
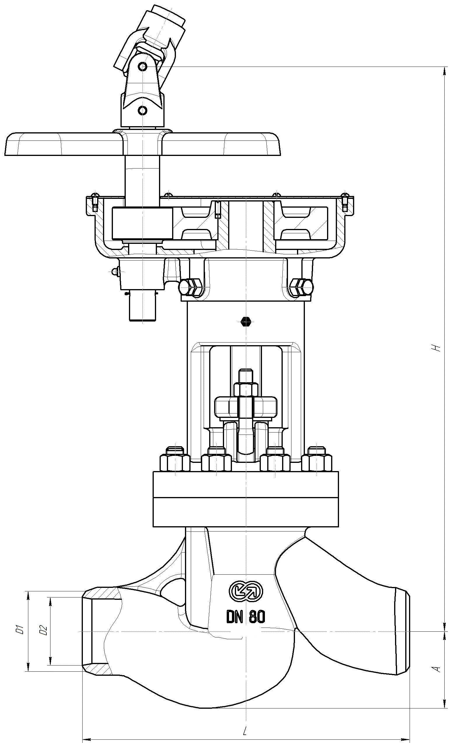
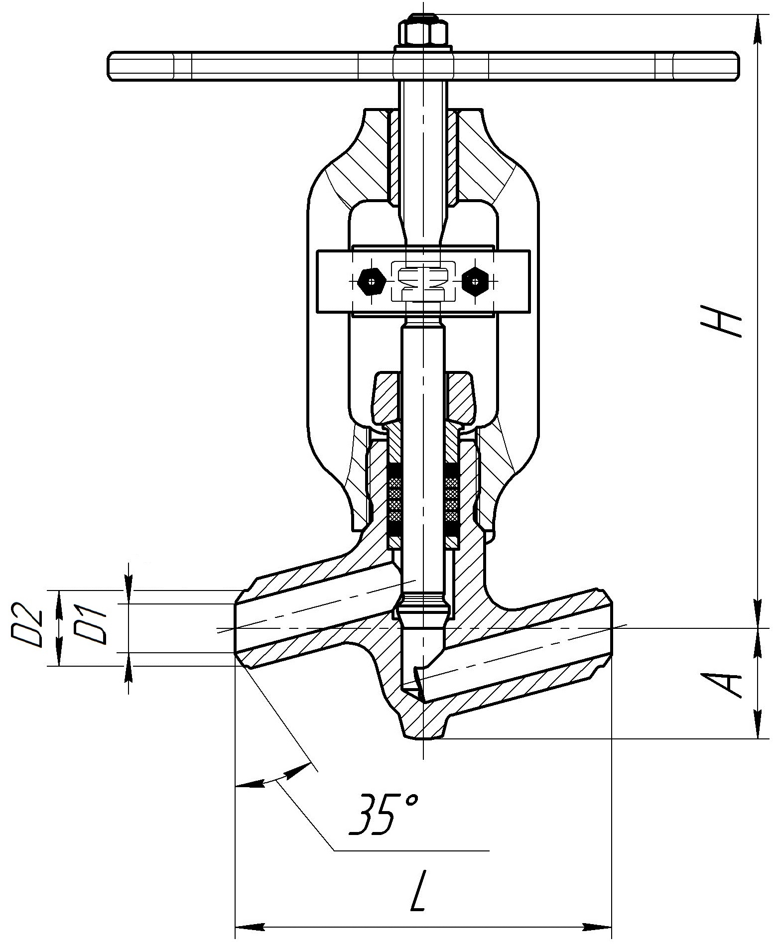
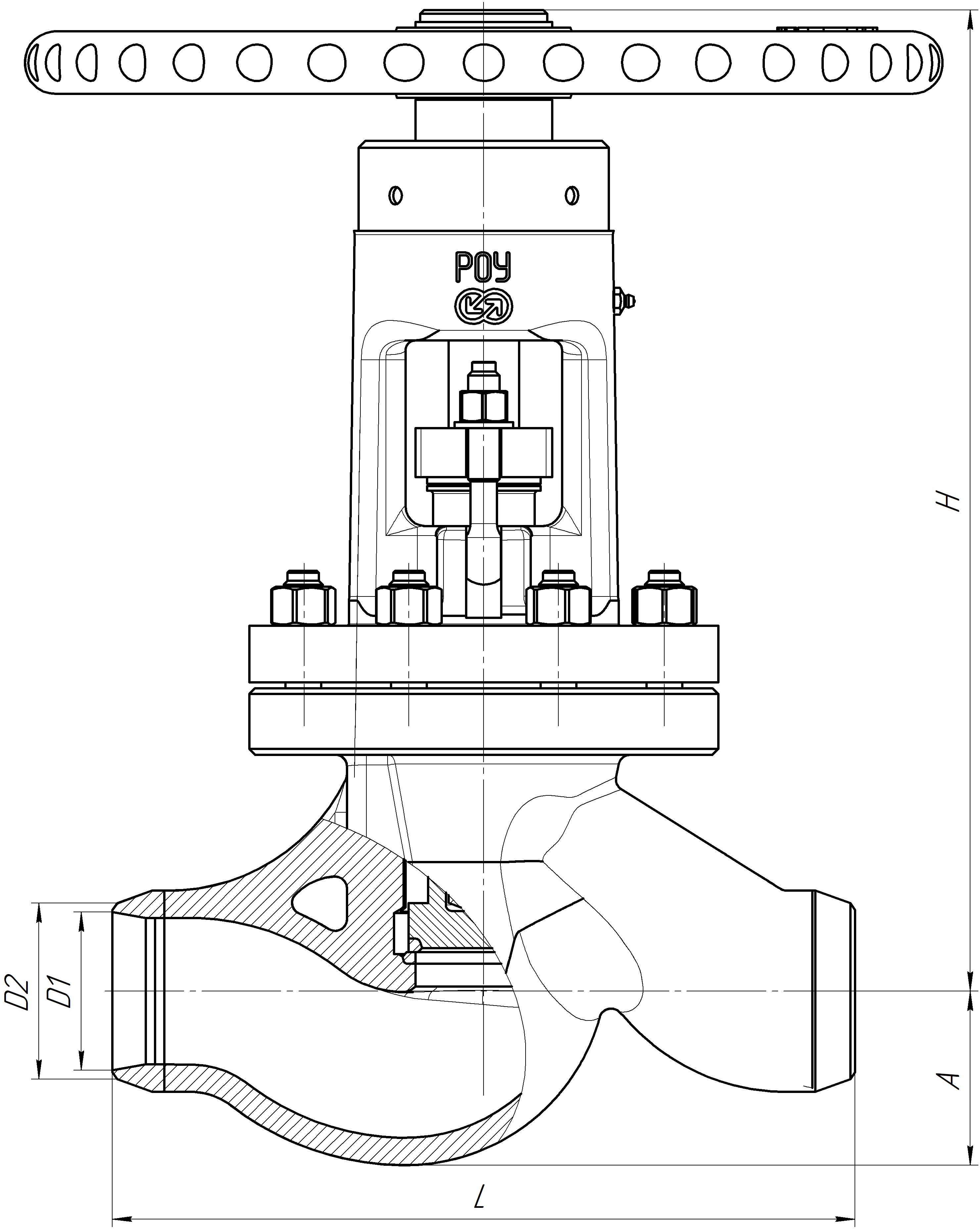
Присоединение к трубопроводу: под сварку.
Установочное положение на трубопроводе: любое, в верхней полусфере относительно горловины.
Направление подачи рабочей среды: любое.
Корпус имеет уплотнительную наплавку из материала на основе хромоникелевых сталей.
Управление: с помощью электропривода, вручную (рукоятка/маховик) или дистанционно от электропривода через муфту шарнирную.
Герметичность затвора: по классу А, В, С ГОСТ 9544-2015.
Климатическое исполнение: Т,У по ГОСТ 15150-69.
Категория размещения: 1, 2, 3 по ГОСТ 15150-69.
Усилие на ручном дублере (маховике, рукоятке): не более 300 Н.
При заказе клапанов с электроприводом указывайте требуемые характеристики привода.
Варианты электроприводов: возможна поставка оборудования с приводами других производителей, а также во взрывозащищенном исполнении (см. раздел «Электроприводы»).
При заказе необходимо указывать наименование и обозначение изделия, климатическое исполнение и категорию размещения по ГОСТ 15150-69.
Для просмотра смахните вбок
| Обозначение изделия | DN, мм | Рабочая среда | Рр (PN), МПа | Материал корпуса | Мкр, Н·м | Кол-во оборотов | Рабочий ход, мм | Способ управления | D1, мм | D2, мм | L, мм | А, мм | Полная масса, кг | Тр (Тmax), °С | Сопротивление | Привод | Мощность привода, кВт | Время полного хода, сек | Масса без привода, кг |
| 1с-11-1 | 10 | вода-пар | -10 | 20 | 7 | 6 | 10,5 | М | 10 | 15 | 140 | 12 | 1,1 | -450 | 12,7 | ||||
| 1с-11-1-1 | 10 | вода-пар | -20 | 08Х18Н10Т | 7 | 6 | 10,5 | М | 10 | 15 | 140 | 12 | 1,1 | -660 | 12,7 | ||||
| 1с-11-1м | 10 | вода-пар | -10 | 20 | 12 | 3,5 | 14 | М | 10 | 22 | 110 | 28 | 3,2 | -450 | 3,8 | ||||
| 1с-11-1мЭД | 10 | вода-пар | -10 | 20 | 12 | 3,5 | 14 | Э | 10 | 22 | 110 | 28 | 23,122,1 | -450 | 3,8 | AUMA SA07.2-F07-C28Sipos 2SA5010-3CE00-3AA4 | 0,060,75 | 9,515 | 4,1 |
| 1с-11-1мЭМ | 10 | вода-пар | -10 | 20 | 12 | 3,5 | 14 | Э | 10 | 22 | 110 | 28 | 16,2 | -450 | 3,8 | Н-М-03Ч У2 | 0,025 | 22,1 | 3,7 |
| 1с-12-1 | 10 | вода | 37,3 | 20 | 25 | 3,5 | 14 | М | 10 | 22 | 110 | 28 | 3,2 | 280 | 3,8 | ||||
| 1с-12-1ЭД | 10 | вода | 37,3 | 20 | 25 | 3,5 | 14 | Э | 10 | 22 | 110 | 28 | 23,122,1 | 280 | 3,8 | AUMA SA07.2-F07-C28Sipos 2SA5010-3CE00-3AA4 | 0,060,75 | 9,515 | 4,1 |
| 1с-12-1ЭМ | 10 | вода | 37,3 | 20 | 25 | 3,5 | 14 | Э | 10 | 22 | 110 | 28 | 16,2 | 280 | 3,8 | Н-М-03Ч У2 | 0,025 | 22,1 | 3,7 |
| 1с-13-1 | 10 | пар | 25 | 12Х1МФ | 25 | 3,5 | 14 | М | 10 | 22 | 110 | 28 | 3,2 | 545 | 3,8 | ||||
| 1с-13-1ЭД | 10 | пар | 25 | 12Х1МФ | 25 | 3,5 | 14 | Э | 10 | 22 | 110 | 28 | 23,122,1 | 545 | 3,8 | AUMA SA07.2-F07-C28Sipos 2SA5010-3CE00-3AA4 | 0,060,75 | 9,515 | 4,1 |
| 1с-13-1ЭМ | 10 | пар | 25 | 12Х1МФ | 25 | 3,5 | 14 | Э | 10 | 22 | 110 | 28 | 16,2 | 545 | 3,8 | Н-М-03Ч У2 | 0,025 | 22,1 | 3,7 |
| 1с-25-1 | 10 | вода-пар | -25 | 20 | 25 | 3,5 | 14 | М | 10 | 22 | 110 | 28 | 3,2 | -450 | 3,8 | ||||
| 1с-25-1ЭД | 10 | вода-пар | -25 | 20 | 25 | 3,5 | 14 | Э | 10 | 22 | 110 | 28 | 23,122,1 | -450 | 3,8 | AUMA SA07.2-F07-C28Sipos 2SA5010-3CE00-3AA4 | 0,060,75 | 9,515 | 4,1 |
| 1с-25-1ЭМ | 10 | вода-пар | -25 | 20 | 25 | 3,5 | 14 | Э | 10 | 22 | 110 | 28 | 16,2 | -450 | 3,8 | Н-М-03Ч У2 | 0,025 | 22,1 | 3,7 |
| 1c-11-2 | 15 | вода-пар | -10 | 20 | 70 | 4 | 16 | М | 16 | 32 | 160 | 46 | 5,8 | -450 | 5 | ||||
| 1c-11-2ЭД | 15 | вода-пар | -10 | 20 | 70 | 4 | 16 | Э | 16 | 32 | 160 | 46 | 33,242,2 | -450 | 5 | AUMA SA 10.2-F10-C28Sipos 2SA5031-3CE00-3AA4 | 0,250,8 | 10,917 | 8,2 |
| 1c-11-2ЭМ | 15 | вода-пар | -10 | 20 | 70 | 4 | 16 | Э | 16 | 32 | 160 | 46 | 24,4 | -450 | 5 | Н-А2-08Ч У2 | 0,25 | 10 | 7,4 |
| 1c-11-2ЭН | 15 | вода-пар | -10 | 20 | 70 | 4 | 16 | Э | 16 | 32 | 160 | 46 | 21,4 | -450 | 5 | ЭП-З-100-24-А1-06-В-У1 | 0,45 | 10 | 7,4 |
| 1c-11-2ЭЧ | 15 | вода-пар | -10 | 20 | 70 | 4 | 16 | Э | 16 | 32 | 160 | 46 | 28,8 | -450 | 5 | ПЭМ-А12М У2 | 0,25 | 10 | 6,8 |
| 1c-12-2 | 15 | вода | 37,3 | 20 | 80 | 4 | 16 | М | 16 | 32 | 160 | 46 | 5,8 | 280 | 5 | ||||
| 1c-12-2ЭД | 15 | вода | 37,3 | 20 | 80 | 4 | 16 | Э | 16 | 32 | 160 | 46 | 33,242,2 | 280 | 5 | AUMA SA 10.2-F10-C28Sipos 2SA5031-3CE00-3AA4 | 0,250,8 | 10,917 | 8,2 |
| 1c-12-2ЭМ | 15 | вода | 37,3 | 20 | 80 | 4 | 16 | Э | 16 | 32 | 160 | 46 | 24,4 | 280 | 5 | Н-А2-08Ч У2 | 0,25 | 10 | 7,4 |
| 1c-12-2ЭН | 15 | вода | 37,3 | 20 | 80 | 4 | 16 | Э | 16 | 32 | 160 | 46 | 21,4 | 280 | 5 | ЭП-З-100-24-А1-06-В-У1 | 0,45 | 10 | 7,4 |
| 1c-12-2ЭЧ | 15 | вода | 37,3 | 20 | 80 | 4 | 16 | Э | 16 | 32 | 160 | 46 | 28,8 | 280 | 5 | ПЭМ-А12М У2 | 0,25 | 10 | 6,8 |
| 1c-13-2 | 15 | пар | 25 | 12Х1МФ | 80 | 4 | 16 | М | 16 | 32 | 160 | 46 | 5,8 | 545 | 5 | ||||
| 1c-13-2ЭД | 15 | пар | 25 | 12Х1МФ | 80 | 4 | 16 | Э | 16 | 32 | 160 | 46 | 33,242,2 | 545 | 5 | AUMA SA 10.2-F10-C28Sipos 2SA5031-3CE00-3AA4 | 0,250,8 | 10,917 | 8,2 |
| 1c-13-2ЭМ | 15 | пар | 25 | 12Х1МФ | 80 | 4 | 16 | Э | 16 | 32 | 160 | 46 | 24,4 | 545 | 5 | Н-А2-08Ч У2 | 0,25 | 10 | 7,4 |
| 1c-13-2ЭН | 15 | пар | 25 | 12Х1МФ | 80 | 4 | 16 | Э | 16 | 32 | 160 | 46 | 21,4 | 545 | 5 | ЭП-З-100-24-А1-06-В-У1 | 0,45 | 10 | 7,4 |
| 1c-13-2ЭЧ | 15 | пар | 25 | 12Х1МФ | 80 | 4 | 16 | Э | 16 | 32 | 160 | 46 | 28,8 | 545 | 5 | ПЭМ-А12М У2 | 0,25 | 10 | 6,8 |
| 1c-25-2 | 15 | вода-пар | -25 | 20 | 80 | 4 | 16 | М | 16 | 32 | 160 | 46 | 5,8 | -450 | 5 | ||||
| 1c-25-2ЭД | 15 | вода-пар | -25 | 20 | 80 | 4 | 16 | Э | 16 | 32 | 160 | 46 | 33,242,2 | -450 | 5 | AUMA SA 10.2-F10-C28Sipos 2SA5031-3CE00-3AA4 | 0,250,8 | 10,917 | 8,2 |
| 1c-25-2ЭМ | 15 | вода-пар | -25 | 20 | 80 | 4 | 16 | Э | 16 | 32 | 160 | 46 | 24,4 | -450 | 5 | Н-А2-08Ч У2 | 0,25 | 10 | 7,4 |
| 1c-25-2ЭН | 15 | вода-пар | -25 | 20 | 80 | 4 | 16 | Э | 16 | 32 | 160 | 46 | 21,4 | -450 | 5 | ЭП-З-100-24-А1-06-В-У1 | 0,45 | 10 | 7,4 |
| 1c-25-2ЭЧ | 15 | вода-пар | -25 | 20 | 80 | 4 | 16 | Э | 16 | 32 | 160 | 46 | 28,8 | -450 | 5 | ПЭМ-А12М У2 | 0,25 | 10 | 6,8 |
| 1c-11-3 | 20 | вода-пар | -10 | 20 | 70 | 4 | 16 | М | 20 | 32 | 160 | 46 | 5,6 | -450 | 5 | ||||
| 1c-11-3ЭД | 20 | вода-пар | -10 | 20 | 70 | 4 | 16 | Э | 20 | 32 | 160 | 46 | 3342 | -450 | 5 | AUMA SA 10.2-F10-C28Sipos 2SA5031-3CE00-3AA4 | 0,250,8 | 10,917 | 8 |
| 1c-11-3ЭМ | 20 | вода-пар | -10 | 20 | 70 | 4 | 16 | Э | 20 | 32 | 160 | 46 | 24,2 | -450 | 5 | Н-А2-08Ч У2 | 0,25 | 10 | 7,2 |
| 1c-11-3ЭН | 20 | вода-пар | -10 | 20 | 70 | 4 | 16 | Э | 20 | 32 | 160 | 46 | 21,2 | -450 | 5 | ЭП-З-100-24-А1-06-В-У1 | 0,45 | 10 | 7,2 |
| 1c-11-3ЭЧ | 20 | вода-пар | -10 | 20 | 70 | 4 | 16 | Э | 20 | 32 | 160 | 46 | 28,6 | -450 | 5 | ПЭМ-А12М У2 | 0,25 | 10 | 6,6 |
| 1c-12-3 | 20 | вода | 37,3 | 20 | 80 | 4 | 16 | М | 20 | 32 | 160 | 46 | 5,6 | 280 | 5 | ||||
| 1c-12-3ЭД | 20 | вода | 37,3 | 20 | 80 | 4 | 16 | Э | 20 | 32 | 160 | 46 | 3342 | 280 | 5 | AUMA SA 10.2-F10-C28Sipos 2SA5031-3CE00-3AA4 | 0,250,8 | 10,917 | 8 |
| 1c-12-3ЭМ | 20 | вода | 37,3 | 20 | 80 | 4 | 16 | Э | 20 | 32 | 160 | 46 | 24,2 | 280 | 5 | Н-А2-08Ч У2 | 0,25 | 10 | 7,2 |
| 1c-12-3ЭН | 20 | вода | 37,3 | 20 | 80 | 4 | 16 | Э | 20 | 32 | 160 | 46 | 21,2 | 280 | 5 | ЭП-З-100-24-А1-06-В-У1 | 0,45 | 10 | 7,2 |
| 1c-12-3ЭЧ | 20 | вода | 37,3 | 20 | 80 | 4 | 16 | Э | 20 | 32 | 160 | 46 | 28,6 | 280 | 5 | ПЭМ-А12М У2 | 0,25 | 10 | 6,6 |
| 1c-13-3 | 20 | пар | 25 | 12Х1МФ | 80 | 4 | 16 | М | 20 | 32 | 160 | 46 | 5,6 | 545 | 5 | ||||
| 1c-13-3ЭД | 20 | пар | 25 | 12Х1МФ | 80 | 4 | 16 | Э | 20 | 32 | 160 | 46 | 3342 | 545 | 5 | AUMA SA 10.2-F10-C28Sipos 2SA5031-3CE00-3AA4 | 0,250,8 | 10,917 | 8 |
| 1c-13-3ЭМ | 20 | пар | 25 | 12Х1МФ | 80 | 4 | 16 | Э | 20 | 32 | 160 | 46 | 24,2 | 545 | 5 | Н-А2-08Ч У2 | 0,25 | 10 | 7,2 |
| 1c-13-3ЭН | 20 | пар | 25 | 12Х1МФ | 80 | 4 | 16 | Э | 20 | 32 | 160 | 46 | 21,2 | 545 | 5 | ЭП-З-100-24-А1-06-В-У1 | 0,45 | 10 | 7,2 |
| 1c-13-3ЭЧ | 20 | пар | 25 | 12Х1МФ | 80 | 4 | 16 | Э | 20 | 32 | 160 | 46 | 28,6 | 545 | 5 | ПЭМ-А12М У2 | 0,25 | 10 | 6,6 |
| 1c-25-3 | 20 | вода-пар | -25 | 20 | 80 | 4 | 16 | М | 20 | 32 | 160 | 46 | 5,6 | -450 | 5 | ||||
| 1c-25-3ЭД | 20 | вода-пар | -25 | 20 | 80 | 4 | 16 | Э | 20 | 32 | 160 | 46 | 3342 | -450 | 5 | AUMA SA 10.2-F10-C28Sipos 2SA5031-3CE00-3AA4 | 0,250,8 | 10,917 | 8 |
| 1c-25-3ЭМ | 20 | вода-пар | -25 | 20 | 80 | 4 | 16 | Э | 20 | 32 | 160 | 46 | 24,2 | -450 | 5 | Н-А2-08Ч У2 | 0,25 | 10 | 7,2 |
| 1c-25-3ЭН | 20 | вода-пар | -25 | 20 | 80 | 4 | 16 | Э | 20 | 32 | 160 | 46 | 21,2 | -450 | 5 | ЭП-З-100-24-А1-06-В-У1 | 0,45 | 10 | 7,2 |
| 1c-25-3ЭЧ | 20 | вода-пар | -25 | 20 | 80 | 4 | 16 | Э | 20 | 32 | 160 | 46 | 28,6 | -450 | 5 | ПЭМ-А12М У2 | 0,25 | 10 | 6,6 |
| 1c-11-31 | 25 | вода-пар | -10 | 20 | 70 | 4 | 16 | М | 26 | 36 | 160 | 46 | 5,6 | -450 | 5 | ||||
| 1c-11-31ЭД | 25 | вода-пар | -10 | 20 | 70 | 4 | 16 | Э | 26 | 36 | 160 | 46 | 3342 | -450 | 5 | AUMA SA 10.2-F10-C28Sipos 2SA5031-3CE00-3AA4 | 0,250,8 | 10,917 | 8 |
| 1c-11-31ЭМ | 25 | вода-пар | -10 | 20 | 70 | 4 | 16 | Э | 26 | 36 | 160 | 46 | 24,2 | -450 | 5 | Н-А2-08Ч У2 | 0,25 | 10 | 7,2 |
| 1c-11-31ЭН | 25 | вода-пар | -10 | 20 | 70 | 4 | 16 | Э | 26 | 36 | 160 | 46 | 21,2 | -450 | 5 | ЭП-З-100-24-А1-06-В-У1 | 0,45 | 10 | 7,2 |
| 1c-11-31ЭЧ | 25 | вода-пар | -10 | 20 | 70 | 4 | 16 | Э | 26 | 36 | 160 | 46 | 28,6 | -450 | 5 | ПЭМ-А12М У2 | 0,25 | 10 | 6,6 |
| 1c-12-25 | 25 | вода | 23,5 | 20 | 80 | 4 | 16 | М | 24 | 32 | 160 | 46 | 5,6 | 250 | 5 | ||||
| 1c-12-25ЭД | 25 | вода | 23,5 | 20 | 80 | 4 | 16 | Э | 24 | 32 | 160 | 46 | 3342 | 250 | 5 | AUMA SA 10.2-F10-C28Sipos 2SA5031-3CE00-3AA4 | 0,250,8 | 10,917 | 8 |
| 1c-12-25ЭМ | 25 | вода | 23,5 | 20 | 80 | 4 | 16 | Э | 24 | 32 | 160 | 46 | 24,2 | 250 | 5 | Н-А2-08Ч У2 | 0,25 | 10 | 7,2 |
| 1c-12-25ЭН | 25 | вода | 23,5 | 20 | 80 | 4 | 16 | Э | 24 | 32 | 160 | 46 | 21,2 | 250 | 5 | ЭП-З-100-24-А1-06-В-У1 | 0,45 | 10 | 7,2 |
| 1c-12-25ЭЧ | 25 | вода | 23,5 | 20 | 80 | 4 | 16 | Э | 24 | 32 | 160 | 46 | 28,6 | 250 | 5 | ПЭМ-А12М У2 | 0,25 | 10 | 6,6 |
| 1c-13-25 | 25 | пар | 9,8 | 12Х1МФ | 80 | 4 | 16 | М | 24 | 32 | 160 | 46 | 5,6 | 540 | 5 | ||||
| 1c-13-25ЭД | 25 | пар | 9,8 | 12Х1МФ | 80 | 4 | 16 | Э | 24 | 32 | 160 | 46 | 3342 | 540 | 5 | AUMA SA 10.2-F10-C28Sipos 2SA5031-3CE00-3AA4 | 0,250,8 | 10,917 | 8 |
| 1c-13-25ЭМ | 25 | пар | 9,8 | 12Х1МФ | 80 | 4 | 16 | Э | 24 | 32 | 160 | 46 | 24,2 | 540 | 5 | Н-А2-08Ч У2 | 0,25 | 10 | 7,2 |
| 1c-13-25ЭН | 25 | пар | 9,8 | 12Х1МФ | 80 | 4 | 16 | Э | 24 | 32 | 160 | 46 | 21,2 | 540 | 5 | ЭП-З-100-24-А1-06-В-У1 | 0,45 | 10 | 7,2 |
| 1c-13-25ЭЧ | 25 | пар | 9,8 | 12Х1МФ | 80 | 4 | 16 | Э | 24 | 32 | 160 | 46 | 28,6 | 540 | 5 | ПЭМ-А12М У2 | 0,25 | 10 | 6,6 |
| 1c-25-25 | 25 | вода-пар | -25 | 20 | 80 | 4 | 16 | М | 24 | 32 | 160 | 46 | 5,6 | -450 | 5 | ||||
| 1c-25-25ЭД | 25 | вода-пар | -25 | 20 | 80 | 4 | 16 | Э | 24 | 32 | 160 | 46 | 3342 | -450 | 5 | AUMA SA 10.2-F10-C28Sipos 2SA5031-3CE00-3AA4 | 0,250,8 | 10,917 | 8 |
| 1c-25-25ЭМ | 25 | вода-пар | -25 | 20 | 80 | 4 | 16 | Э | 24 | 32 | 160 | 46 | 24,2 | -450 | 5 | Н-А2-08Ч У2 | 0,25 | 10 | 7,2 |
| 1c-25-25ЭН | 25 | вода-пар | -25 | 20 | 80 | 4 | 16 | Э | 24 | 32 | 160 | 46 | 21,2 | -450 | 5 | ЭП-З-100-24-А1-06-В-У1 | 0,45 | 10 | 7,2 |
| 1c-25-25ЭЧ | 25 | вода-пар | -25 | 20 | 80 | 4 | 16 | Э | 24 | 32 | 160 | 46 | 28,6 | -450 | 5 | ПЭМ-А12М У2 | 0,25 | 10 | 6,6 |
| 1с-12-31 | 25 | вода | 37,3 | 20 | 250 | 6 | 36 | М | 25 | 66 | 220 | 85 | 36 | 280 | 7 | ||||
| 1с-12-31ЭД | 25 | вода | 37,3 | 20 | 250 | 6 | 36 | Э | 25 | 66 | 220 | 85 | 94,3108,3 | 280 | 7 | AUMA SA 14.6-F14-C38Sipos 2SA5053-3CE00-3AA4 | 0,83 | 16,426 | 41,3 |
| 1с-12-31ЭМ | 25 | вода | 37,3 | 20 | 250 | 6 | 36 | Э | 25 | 66 | 220 | 85 | 93 | 280 | 7 | Н-Б1-07 У2 | 1,32 | 14,4 | 40 |
| 1с-12-31ЭН | 25 | вода | 37,3 | 20 | 250 | 6 | 36 | Э | 25 | 66 | 220 | 85 | 78 | 280 | 7 | ЭП-З-300-25-Б1-О-А-У1 | 0,75 | 14,4 | 40 |
| 1с-12-31ЭЧ | 25 | вода | 37,3 | 20 | 250 | 6 | 36 | Э | 25 | 66 | 220 | 85 | 81 | 280 | 7 | ПЭМ-Б1М У2 | 0,55 | 14,4 | 40 |
| 1с-13-31 | 25 | пар | 25 | 12Х1МФ | 250 | 6 | 36 | М | 25 | 66 | 220 | 85 | 36 | 545 | 7 | ||||
| 1с-13-31ЭД | 25 | пар | 25 | 12Х1МФ | 250 | 6 | 36 | Э | 25 | 66 | 220 | 85 | 94,3108,3 | 545 | 7 | AUMA SA 14.6-F14-C38Sipos 2SA5053-3CE00-3AA4 | 0,83 | 16,426 | 41,3 |
| 1с-13-31ЭМ | 25 | пар | 25 | 12Х1МФ | 250 | 6 | 36 | Э | 25 | 66 | 220 | 85 | 93 | 545 | 7 | Н-Б1-07 У2 | 1,32 | 14,4 | 40 |
| 1с-13-31ЭН | 25 | пар | 25 | 12Х1МФ | 250 | 6 | 36 | Э | 25 | 66 | 220 | 85 | 78 | 545 | 7 | ЭП-З-300-25-Б1-О-А-У1 | 0,75 | 14,4 | 40 |
| 1с-13-31ЭЧ | 25 | пар | 25 | 12Х1МФ | 250 | 6 | 36 | Э | 25 | 66 | 220 | 85 | 81 | 545 | 7 | ПЭМ-Б1М У2 | 0,55 | 14,4 | 40 |
| 1с-12-32 | 32 | вода-пар | -10 | 20 | 70 | 5 | 20 | М | 32 | 40 | 230 | 47 | 6,4 | -450 | 7,7 | ||||
| 1с-12-32ЭД | 32 | вода-пар | -10 | 20 | 70 | 5 | 20 | Э | 32 | 40 | 230 | 47 | 33,742,7 | -450 | 7,7 | AUMA SA 10.2-F10-C28Sipos 2SA5031-3CE00-3AA4 | 0,250,8 | 13,617 | 8,7 |
| 1с-12-32ЭМ | 32 | вода-пар | -10 | 20 | 70 | 5 | 20 | Э | 32 | 40 | 230 | 47 | 24,9 | -450 | 7,7 | Н-А2-08Ч У2 | 0,25 | 12,5 | 7,9 |
| 1с-12-32ЭН | 32 | вода-пар | -10 | 20 | 70 | 5 | 20 | Э | 32 | 40 | 230 | 47 | 21,9 | -450 | 7,7 | ЭП-З-100-24-А1-06-В-У1 | 0,45 | 12,5 | 7,9 |
| 1с-12-32ЭЧ | 32 | вода-пар | -10 | 20 | 70 | 5 | 20 | Э | 32 | 40 | 230 | 47 | 29,9 | -450 | 7,7 | ПЭМ-А12М У2 | 0,25 | 12,5 | 7,9 |
| 1с-13-32 | 32 | пар | 25 | 12Х1МФ | 250 | 6 | 36 | М | 31 | 66 | 220 | 85 | 35,7 | 545 | 7 | ||||
| 1с-13-32ЭД | 32 | пар | 25 | 12Х1МФ | 250 | 6 | 36 | Э | 31 | 66 | 220 | 8595 | 96,2110,2 | 545 | 7 | AUMA SA 14.6-F14-C38Sipos 2SA5053-3CE00-3AA4 | 0,83 | 16,426 | 43,2 |
| 1с-13-32ЭМ | 32 | пар | 25 | 12Х1МФ | 250 | 6 | 36 | Э | 31 | 66 | 220 | 85 | 92,7 | 545 | 7 | Н-Б1-07 У2 | 1,32 | 14,4 | 39,7 |
| 1с-13-32ЭН | 32 | пар | 25 | 12Х1МФ | 250 | 6 | 36 | Э | 31 | 66 | 220 | 85 | 77,7 | 545 | 7 | ЭП-З-300-25-Б1-О-А-У1 | 0,75 | 14,4 | 39,7 |
| 1с-13-32ЭЧ | 32 | пар | 25 | 12Х1МФ | 250 | 6 | 36 | Э | 31 | 66 | 220 | 85 | 80,7 | 545 | 7 | ПЭМ-Б1М У2 | 0,55 | 14,4 | 39,7 |
| 1с-25-32 | 32 | вода-пар | -25 | 20 | 250 | 6 | 36 | М | 31 | 66 | 220 | 85 | 35,7 | -450 | 7 | ||||
| 1с-25-32ЭД | 32 | вода-пар | -25 | 20 | 250 | 6 | 36 | Э | 31 | 66 | 220 | 85 | 94108 | -450 | 7 | AUMA SA 14.6-F14-C38Sipos 2SA5053-3CE00-3AA4 | 0,83 | 16,426 | 41 |
| 1с-25-32ЭМ | 32 | вода-пар | -25 | 20 | 250 | 6 | 36 | Э | 31 | 66 | 220 | 85 | 92,7 | -450 | 7 | Н-Б1-07 У2 | 1,32 | 14,4 | 39,7 |
| 1с-25-32ЭН | 32 | вода-пар | -25 | 20 | 250 | 6 | 36 | Э | 31 | 66 | 220 | 85 | 77,7 | -450 | 7 | ЭП-З-300-25-Б1-О-А-У1 | 0,75 | 14,4 | 39,7 |
| 1с-25-32ЭЧ | 32 | вода-пар | -25 | 20 | 250 | 6 | 36 | Э | 31 | 66 | 220 | 85 | 80,7 | -450 | 7 | ПЭМ-Б1М У2 | 0,55 | 14,4 | 39,7 |
| 1с-11-40 | 40 | вода-пар | -10 | 20 | 70 | 5 | 20 | М | 37 | 46 | 240 | 68 | 9,4 | -450 | 12,7 | ||||
| 1с-11-40ЭД | 40 | вода-пар | -10 | 20 | 70 | 5 | 20 | Э | 37 | 46 | 240 | 68 | 36,645,6 | -450 | 12,7 | AUMA SA 10.2-F10-C28Sipos 2SA5031-3CE00-3AA4 | 0,250,8 | 13,617 | 11,6 |
| 1с-11-40ЭМ | 40 | вода-пар | -10 | 20 | 70 | 5 | 20 | Э | 37 | 46 | 240 | 68 | 27,3 | -450 | 12,7 | Н-А2-08Ч У2 | 0,25 | 12,5 | 10,3 |
| 1с-11-40ЭН | 40 | вода-пар | -10 | 20 | 70 | 5 | 20 | Э | 37 | 46 | 240 | 68 | 24,3 | -450 | 12,7 | ЭП-З-100-24-А1-06-В-У1 | 0,45 | 12,5 | 10,3 |
| 1с-11-40ЭЧ | 40 | вода-пар | -10 | 20 | 70 | 5 | 20 | Э | 37 | 46 | 240 | 68 | 32,3 | -450 | 12,7 | ПЭМ-А12М У2 | 0,25 | 12,5 | 10,3 |
| 1с-12-40 | 40 | вода | 37,3 | 20 | 300 | 6 | 36 | М | 39 | 66 | 220 | 85 | 35,1 | 280 | 7 | ||||
| 1с-12-40ЭД | 40 | вода | 37,3 | 20 | 300 | 6 | 36 | Э | 39 | 66 | 220 | 85 | 93,4107,4 | 280 | 7 | AUMA SA 14.6-F14-C38Sipos 2SA5053-3CE00-3AA4 | 0,83 | 16,426 | 40,4 |
| 1с-12-40ЭМ | 40 | вода | 37,3 | 20 | 300 | 6 | 36 | Э | 39 | 66 | 220 | 85 | 92,1 | 280 | 7 | Н-Б1-07 У2 | 1,32 | 14,4 | 39,1 |
| 1с-12-40ЭН | 40 | вода | 37,3 | 20 | 300 | 6 | 36 | Э | 39 | 66 | 220 | 85 | 77,1 | 280 | 7 | ЭП-З-300-25-Б1-О-А-У1 | 0,75 | 14,4 | 39,1 |
| 1с-12-40ЭЧ | 40 | вода | 37,3 | 20 | 300 | 6 | 36 | Э | 39 | 66 | 220 | 85 | 80,1 | 280 | 7 | ПЭМ-Б1М У2 | 0,55 | 14,4 | 39,1 |
| 1с-13-40 | 40 | пар | 13,7 | 12Х1МФ | 250 | 6 | 36 | М | 39 | 66 | 220 | 85 | 35,1 | 560 | 7 | ||||
| 1с-13-40ЭД | 40 | пар | 13,7 | 12Х1МФ | 250 | 6 | 36 | Э | 39 | 66 | 220 | 85 | 93,4107,4 | 560 | 7 | AUMA SA 14.6-F14-C38Sipos 2SA5053-3CE00-3AA4 | 0,83 | 16,426 | 40,4 |
| 1с-13-40ЭМ | 40 | пар | 13,7 | 12Х1МФ | 250 | 6 | 36 | Э | 39 | 66 | 220 | 85 | 92,1 | 560 | 7 | Н-Б1-07 У2 | 1,32 | 14,4 | 39,1 |
| 1с-13-40ЭН | 40 | пар | 13,7 | 12Х1МФ | 250 | 6 | 36 | Э | 39 | 66 | 220 | 85 | 77,1 | 560 | 7 | ЭП-З-300-25-Б1-О-А-У1 | 0,75 | 14,4 | 39,1 |
| 1с-13-40ЭЧ | 40 | пар | 13,7 | 12Х1МФ | 250 | 6 | 36 | Э | 39 | 66 | 220 | 85 | 80,1 | 560 | 7 | ПЭМ-Б1М У2 | 0,55 | 14,4 | 39,1 |
| 1с-25-40 | 40 | вода-пар | -25 | 20 | 250 | 6 | 36 | М | 39 | 66 | 220 | 85 | 35,1 | -450 | 7 | ||||
| 1с-25-40ЭД | 40 | вода-пар | -25 | 20 | 250 | 6 | 36 | Э | 39 | 66 | 220 | 85 | 93,4107,4 | -450 | 7 | AUMA SA 14.6-F14-C38Sipos 2SA5053-3CE00-3AA4 | 0,83 | 16,426 | 40,4 |
| 1с-25-40ЭМ | 40 | вода-пар | -25 | 20 | 250 | 6 | 36 | Э | 39 | 66 | 220 | 85 | 92,1 | -450 | 7 | Н-Б1-07 У2 | 1,32 | 14,4 | 39,1 |
| 1с-25-40ЭН | 40 | вода-пар | -25 | 20 | 250 | 6 | 36 | Э | 39 | 66 | 220 | 85 | 77,1 | -450 | 7 | ЭП-З-300-25-Б1-О-А-У1 | 0,75 | 14,4 | 39,1 |
| 1с-25-40ЭЧ | 40 | вода-пар | -25 | 20 | 250 | 6 | 36 | Э | 39 | 66 | 220 | 85 | 80,1 | -450 | 7 | ПЭМ-Б1М У2 | 0,55 | 14,4 | 39,1 |
| 1с-11-5 | 50 | вода-пар | -6,3 | 20 | 70 | 5 | 20 | М | 50 | 58 | 240 | 68 | 9,4 | -425 | 12,7 | ||||
| 1с-11-5м | 50 | вода-пар | -10 | 20 | 70 | 5 | 20 | М | 50 | 58 | 240 | 68 | 9,4 | -450 | 12,7 | ||||
| 1с-11-5мЭД | 50 | вода-пар | -10 | 20 | 70 | 5 | 20 | Э | 50 | 58 | 240 | 68 | 36,545,5 | -450 | 12,7 | AUMA SA 10.2-F10-C28Sipos 2SA5053-3CE00-3AA4 | 0,253 | 13,626 | 11,5 |
| 1с-11-5мЭМ | 50 | вода-пар | -10 | 20 | 70 | 5 | 20 | Э | 50 | 58 | 240 | 68 | 27 | -450 | 12,7 | Н-А2-08Ч У2 | 0,25 | 12,5 | 10 |
| 1с-11-5мЭН | 50 | вода-пар | -10 | 20 | 70 | 5 | 20 | Э | 50 | 58 | 240 | 68 | 24 | -450 | 12,7 | ЭП-З-100-24-А1-06-В-У1 | 0,45 | 12,5 | 10 |
| 1с-11-5мЭЧ | 50 | вода-пар | -10 | 20 | 70 | 5 | 20 | Э | 50 | 58 | 240 | 68 | 32 | -450 | 12,7 | ПЭМ-А12М У2 | 0,25 | 12,5 | 10 |
| 1с-11-5ЭД | 50 | вода-пар | -6,3 | 20 | 70 | 5 | 20 | Э | 50 | 58 | 240 | 68 | 36,545,5 | -425 | 12,7 | AUMA SA 10.2-F10-C28Sipos 2SA5053-3CE00-3AA4 | 0,253 | 13,626 | 11,5 |
| 1с-11-5ЭМ | 50 | вода-пар | -6,3 | 20 | 70 | 5 | 20 | Э | 50 | 58 | 240 | 68 | 27 | -425 | 12,7 | Н-А2-08Ч У2 | 0,25 | 12,5 | 10 |
| 1с-11-5ЭН | 50 | вода-пар | -6,3 | 20 | 70 | 5 | 20 | Э | 50 | 58 | 240 | 68 | 24 | -425 | 12,7 | ЭП-З-100-24-А1-06-В-У1 | 0,45 | 12,5 | 10 |
| 1с-11-5ЭЧ | 50 | вода-пар | -6,3 | 20 | 70 | 5 | 20 | Э | 50 | 58 | 240 | 68 | 32 | -425 | 12,7 | ПЭМ-А12М У2 | 0,25 | 12,5 | 10 |
| 1с-12-5 | 50 | вода-пар | -25 | 20 | 250 | 6 | 36 | М | 50 | 66 | 220 | 85 | 34 | -450 | 7 | ||||
| 1с-12-5ЭД | 50 | вода-пар | -25 | 20 | 250 | 6 | 36 | Э | 50 | 66 | 220 | 85 | 86106,5 | -450 | 7 | AUMA SA 14.6-F14-C38Sipos 2SA5053-3CE00-3AA4 | 0,83 | 16,426 | 39,5 |
| 1с-12-5ЭМ | 50 | вода-пар | -25 | 20 | 250 | 6 | 36 | Э | 50 | 66 | 220 | 85 | 91 | -450 | 7 | Н-Б1-07 У2 | 1,32 | 14,4 | 38 |
| 1с-12-5ЭН | 50 | вода-пар | -25 | 20 | 250 | 6 | 36 | Э | 50 | 66 | 220 | 85 | 76 | -450 | 7 | ЭП-З-300-25-Б1-О-А-У1 | 0,75 | 14,4 | 38 |
| 1с-12-5ЭЧ | 50 | вода-пар | -25 | 20 | 250 | 6 | 36 | Э | 50 | 66 | 220 | 85 | 79 | -450 | 7 | ПЭМ-Б1М У2 | 0,55 | 14,4 | 38 |
| 1с-13-5 | 50 | пар | 13,7 | 12Х1МФ | 250 | 6 | 36 | М | 50 | 80 | 250 | 99 | 38,7 | 560 | 7 | ||||
| 1с-13-5ЭД | 50 | пар | 13,7 | 12Х1МФ | 250 | 6 | 36 | Э | 50 | 80 | 250 | 99 | 96,2110,2 | 560 | 7 | AUMA SA 14.6-F14-C38Sipos 2SA5053-3CE00-3AA4 | 0,83 | 16,426 | 43,2 |
| 1с-13-5ЭМ | 50 | пар | 13,7 | 12Х1МФ | 250 | 6 | 36 | Э | 50 | 80 | 250 | 99 | 95,7 | 560 | 7 | Н-Б1-07 У2 | 1,32 | 14,4 | 42,7 |
| 1с-13-5ЭН | 50 | пар | 13,7 | 12Х1МФ | 250 | 6 | 36 | Э | 50 | 80 | 250 | 99 | 80,7 | 560 | 7 | ЭП-З-300-25-Б1-О-А-У1 | 0,75 | 14,4 | 42,7 |
| 1с-13-5ЭЧ | 50 | пар | 13,7 | 12Х1МФ | 250 | 6 | 36 | Э | 50 | 80 | 250 | 99 | 83,7 | 560 | 7 | ПЭМ-Б1М У2 | 0,55 | 14,4 | 42,7 |
| 1с-11-65 | 65 | вода-пар | -10 | 20 | 250 | 6 | 36 | М | 62 | 80 | 250 | 99 | 38,3 | -450 | 7 | ||||
| 1с-11-65ЭД | 65 | вода-пар | -10 | 20 | 250 | 6 | 36 | Э | 62 | 80 | 250 | 9995 | 95,8109,8 | -450 | 7 | AUMA SA 14.6-F14-C38Sipos 2SA5053-3CE00-3AA4 | 0,83 | 16,426 | 42,8 |
| 1с-11-65ЭМ | 65 | вода-пар | -10 | 20 | 250 | 6 | 36 | Э | 62 | 80 | 250 | 99 | 95,3 | -450 | 7 | Н-Б1-07 У2 | 1,32 | 14,4 | 42,3 |
| 1с-11-65ЭН | 65 | вода-пар | -10 | 20 | 250 | 6 | 36 | Э | 62 | 80 | 250 | 99 | 80,3 | -450 | 7 | ЭП-З-300-25-Б1-О-А-У1 | 0,75 | 14,4 | 42,3 |
| 1с-11-65ЭЧ | 65 | вода-пар | -10 | 20 | 250 | 6 | 36 | Э | 62 | 80 | 250 | 99 | 83,3 | -450 | 7 | ПЭМ-Б1М У2 | 0,55 | 14,4 | 42,3 |
| 1с-12-65 | 65 | вода | 23,5 | 20 | 300 | 6 | 36 | М | 58 | 80 | 250 | 99 | 38,3 | 250 | 7 | ||||
| 1с-12-65ЭД | 65 | вода | 23,5 | 20 | 300 | 6 | 36 | Э | 58 | 80 | 250 | 99 | 95,8109,8 | 250 | 7 | AUMA SA 14.6-F14-C38Sipos 2SA5053-3CE00-3AA4 | 0,83 | 16,426 | 42,8 |
| 1с-12-65ЭМ | 65 | вода | 23,5 | 20 | 300 | 6 | 36 | Э | 58 | 80 | 250 | 99 | 95,3 | 250 | 7 | Н-Б1-07 У2 | 1,32 | 14,4 | 42,3 |
| 1с-12-65ЭН | 65 | вода | 23,5 | 20 | 300 | 6 | 36 | Э | 58 | 80 | 250 | 99 | 80,3 | 250 | 7 | ЭП-З-300-25-Б1-О-А-У1 | 0,75 | 14,4 | 42,3 |
| 1с-12-65ЭЧ | 65 | вода | 23,5 | 20 | 300 | 6 | 36 | Э | 58 | 80 | 250 | 99 | 83,3 | 250 | 7 | ПЭМ-Б1М У2 | 0,55 | 14,4 | 42,3 |
| 1с-13-65 | 65 | пар | 9,8 | 12Х1МФ | 250 | 6 | 36 | М | 62 | 80 | 250 | 95 | 38,3 | 540 | 7 | ||||
| 1с-13-65ЭД | 65 | пар | 9,8 | 12Х1МФ | 250 | 6 | 36 | Э | 62 | 80 | 250 | 95 | 95,8109,8 | 540 | 7 | AUMA SA 14.6-F14-C38Sipos 2SA5053-3CE00-3AA4 | 0,83 | 16,426 | 42,8 |
| 1с-13-65ЭМ | 65 | пар | 9,8 | 12Х1МФ | 250 | 6 | 36 | Э | 62 | 80 | 250 | 95 | 95,3 | 540 | 7 | Н-Б1-07 У2 | 1,32 | 14,4 | 42,3 |
| 1с-13-65ЭН | 65 | пар | 9,8 | 12Х1МФ | 250 | 6 | 36 | Э | 62 | 80 | 250 | 95 | 80,3 | 540 | 7 | ЭП-З-300-25-Б1-О-А-У1 | 0,75 | 14,4 | 42,3 |
| 1с-13-65ЭЧ | 65 | пар | 9,8 | 12Х1МФ | 250 | 6 | 36 | Э | 62 | 80 | 250 | 95 | 83,3 | 540 | 7 | ПЭМ-Б1М У2 | 0,55 | 14,4 | 42,3 |
| 1с-25-65 | 65 | вода-пар | -25 | 20 | 300 | 6 | 36 | М | 58 | 80 | 250 | 99 | 38,3 | -450 | 7 | ||||
| 1с-25-65ЭД | 65 | вода-пар | -25 | 20 | 300 | 6 | 36 | Э | 58 | 80 | 250 | 99 | 95,8109,8 | -450 | 7 | AUMA SA 14.6-F14-C38Sipos 2SA5053-3CE00-3AA4 | 0,83 | 16,426 | 42,8 |
| 1с-25-65ЭМ | 65 | вода-пар | -25 | 20 | 300 | 6 | 36 | Э | 58 | 80 | 250 | 99 | 95,3 | -450 | 7 | Н-Б1-07 У2 | 1,32 | 14,4 | 42,3 |
| 1с-25-65ЭН | 65 | вода-пар | -25 | 20 | 300 | 6 | 36 | Э | 58 | 80 | 250 | 99 | 80,3 | -450 | 7 | ЭП-З-300-25-Б1-О-А-У1 | 0,75 | 14,4 | 42,3 |
| 1с-25-65ЭЧ | 65 | вода-пар | -25 | 20 | 300 | 6 | 36 | Э | 58 | 80 | 250 | 99 | 83,3 | -450 | 7 | ПЭМ-Б1М У2 | 0,55 | 14,4 | 42,3 |
| 1с-7-1 | 80 | вода-пар | -6,3 | 20ГСЛ | 290 | 12,5 | 75 | М | 81 | 90 | 380 | 89 | 66,5 | -425 | 6,4 | ||||
| 1с-8-2 | 80 | вода-пар | -10 | 20ГСЛ | 290 | 12,5 | 75 | Ц | 77 | 90 | 380 | 89 | 88,1 | -450 | 6,4 | Редуктор 3:1 | |||
| 1с-8-2ЭД | 80 | вода-пар | -10 | 20ГСЛ | 290 | 12,5 | 75 | Э | 77 | 90 | 380 | 89 | 124138 | -450 | 6,4 | AUMA SA 14.6-F14-C38Sipos 2SA5053-3CE00-3AA4 | 1,63 | 34,126 | 71 |
| 1с-8-2ЭН | 80 | вода-пар | -10 | 20ГСЛ | 290 | 12,5 | 75 | Э | 77 | 90 | 380 | 89 | 109 | -450 | 6,4 | ЭП-З-300-25-Б2-02-А-У3 | 0,75 | 30 | 71 |
| 1с-8-2ЭЧ | 80 | вода-пар | -10 | 20ГСЛ | 290 | 12,5 | 75 | Э | 77 | 90 | 380 | 89 | 112 | -450 | 6,4 | ПЭМ-Б2М У2 | 0,55 | 30 | 71 |
| 1с-9-2 | 80 | вода-пар | -10 | 20ГСЛ | 290 | 12,5 | 75 | К | 77 | 90 | 380 | 89 | 86,2 | -450 | 6,4 | Редуктор 3:1 | |||
| 1с-Т-107б | 50 | вода-пар | -10 | 20ГСЛ | 50 | 3,3 | 16,5 | М | 50 | 75 | 340 | 58 | 32 | -450 | 6 | ||||
| 1с-Т-108б | 50 | вода-пар | -10 | 20ГСЛ | 50 | 3,3 | 16,5 | К | 50 | 75 | 340 | 58 | 41 | -450 | 6 | Редуктор 3:1 | 28,6 |