Назначение: регулирующие клапаны применяются как регуляторы расхода воды и устанавливаются на вспомогательных линиях трубопроводов, на линиях впрыска охлаждающей воды парогенераторов высоких параметров, на трубопроводах впрыска охлаждающей воды в охладители пара ОУ, РОУ и БРОУ энергоблоков. Дроссельные клапаны применяются в основном в качестве дроссельных регуляторов пара и устанавливаются на паропроводах парогенераторов, РОУ, БРОУ, а также на вспомогательных трубопроводах высоких и сверхкритических параметров пара.
Максимальный перепад давления для дроссельных клапанов – критический.
Особенности: Клапаны различных серий отличаются главным образом исполнениями корпуса, золотника (в том числе, многоступенчатого дросселирования), типом и сочленением электропривода, а также величиной пропускной способности.
Материал корпуса регулирующих клапанов: углеродистая сталь.
Материал корпуса дроссельных клапанов: легированная сталь типа ХМФ.
Варианты электроприводов: возможна поставка оборудования с приводами других производителей, а также во взрывозащищенном исполнении (см. раздел «Электроприводы»).
Для выбора пропускной способности клапанов, имеющих несколько исполнений, воспользуйтесь таблицей "Пропускная способность Kv, м3/ч "
Для указания обозначения клапана с пропускной способностью, отличной от пропускной способности базового исполнения, добавьте к базовому обозначению через «-» номер исполнения или значение пропускной способности. Например:
993-175-ЭЧ – Kv=210 м3/ч (базовое исполнение)
993-175-ЭЧ-01 – Kv=280 м3/ч
993-175-ЭЧ-150 – Kv=150 м3/ч
Для просмотра смахните вбок
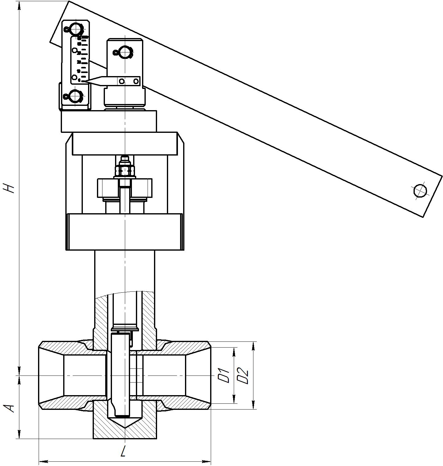
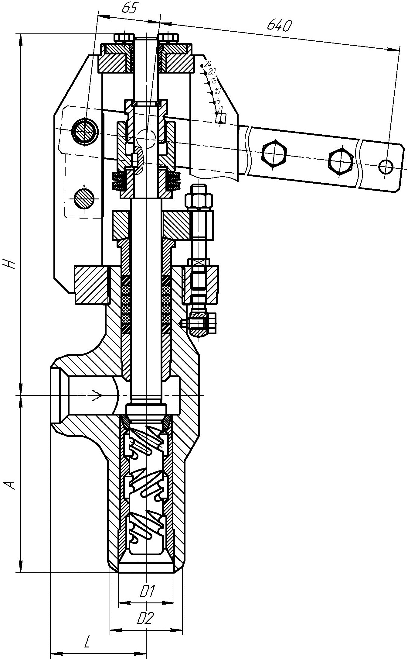
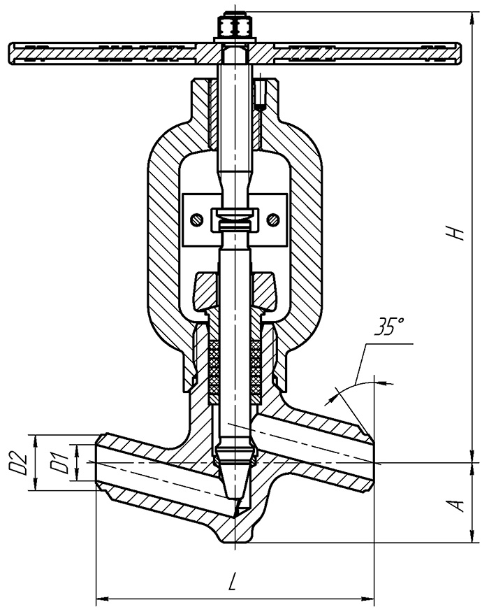
| Обозначение изделия | DN, мм | Рабочая среда | Рр (PN), МПа | Материал корпуса | Кол-во оборотов | Рабочий ход, мм | Способ управления | L, мм | А, мм | Полная масса, кг | Тр (Тmax), °С | Условная пропускная способность Kv, м3/ч | Максимальный перепад давления, МПа | D1/D3, мм | D2/D4, мм | Н, мм | Привод | Время полного хода, сек | Мощность электропривода, кВт | Масса без привода, кг |
| 584-10-0 | 10 | вода | 37,3 | 20 | 2,5 | 10 | М | 110 | 28 | 3,1 | 280 | 1,5 | 1 | 10 | 22 | 220 | ||||
| 597-10-0а | 10 | пар | 25,0 | 12Х1МФ | 2,5 | 10 | М | 110 | 28 | 3,1 | 545 | 1,4 | крит. | 10 | 22 | 220 | ||||
| 1522-10-М | 10 | вода-пар | (10,0) | 20 | 2,5 | 10 | М | 110 | 28 | 3,1 | (450) | 0,6 | 1 | 10 | 22 | 220 | ||||
| 1523-10-Р | 10 | вода-пар | (10,0) | 20 | 13 | Р | 110 | 28 | 3,8 | (450) | 0,6 | 1 | 10 | 22 | 199 | МЭО-100/25-0,25 У-99К У2 | 10 | 0,25 | ||
| 751-10-Р | 10 | вода-пар | (10,0) | 20 | 13 | Р | 110 | 28 | 3,8 | (450) | 1,5 | 1 | 10 | 22 | 199 | МЭО-100/25-0,25У-99К У2 | 10 | 0,25 | ||
| 1032-20-0 | 20 | вода | 37,3 | 20 | 5 | 20 | М | 160 | 46 | 5,8 | 280 | 6,17 | 1 | 20 | 32 | 280 | ||||
| 1032-20-ЭД | 20 | вода | 37,3 | 20 | 5 | 20 | Э | 160 | 46 | 33 | 280 | 6,17 | 1 | 20 | 32 | 562 | AUMA SAR 10.2-F10-C28 | 13,6 | 0,25 | 8 |
| 1032-20-ЭН | 20 | вода | 37,3 | 20 | 5 | 20 | Э | 160 | 46 | 24,1 | 280 | 6,17 | 1 | 20 | 32 | 537 | ЭП-Р-100-ХХ-А2-Т-В-У1 | 15 | 0,45 | 9,1 |
| 1032-20-ЭЧ | 20 | вода | 37,3 | 20 | 5 | 20 | Э | 160 | 46 | 28,7 | 280 | 6,17 | 1 | 20 | 32 | 799 | ПЭМ-А33У У2 | 25 | 0,18 | 5,7 |
| 870-20-ЭД … -05 | 20 | вода | 37,3 | 20 | 5,8 | 29 | Э | 70 | 100 | 43 | 280 | 0,8 … 2,9 | 4 | 20/32 | 28/45 | 720 | AUMA SAR 10.2-F10-C28 | 15,8 | 0,25 | 18 |
| 870-20-ЭЧ … -05 | 20 | вода | 37,3 | 20 | 5,8 | 29 | Э | 70 | 100 | 44,4 | 280 | 0,8 … 2,9 | 4 | 20/32 | 28/45 | 957 | ПЭМ-А33У У2 | 29 | 0,18 | 21,4 |
| 870-20-ЭА … -05 | 20 | вода | 37,3 | 20 | 5,8 | 29 | Э | 70 | 100 | 66,3 | 280 | 0,8 … 2,9 | 4 | 20/32 | 28/45 | 687 | 821-ЭР-0б | 19 | 0,37 | 47,3 |
| 1438-20-М … -05 | 20 | вода | 37,3 | 20 | 7,5 | 29 | М | 70 | 115 | 7,7 | 280 | 0,8 … 2,9 | 4 | 20/32 | 28/45 | 424 | ||||
| 1438-20-М-06 … -13 | 20 | вода | 37,3 | 20 | 4 | 16 | М | 70 | 115 | 7,7 | 280 | 0,3 … 2,9 | 12 | 20/32 | 28/45 | 411 | ||||
| 1438-20-Р … -05 | 20 | вода | 37,3 | 20 | 29 | Р | 70 | 115 | 20 | 280 | 0,8 … 2,9 | 4 | 20/32 | 28/45 | 500 | МЭО-1600/25-0,25У-92К У2 | 11 | 0,22 | ||
| 1438-20-Р-06 … -13 | 20 | вода | 37,3 | 20 | 16 | Р | 70 | 115 | 20 | 280 | 0,3 … 2,9 | 12 | 20/32 | 28/45 | 500 | МЭО-1600/25-0,25У-92К У2 | 6 | 0,22 | ||
| 1438-20-ЭД … -05 | 20 | вода | 37,3 | 20 | 29 | Э | 70 | 115 | 50 | 280 | 0,8 … 2,9 | 4 | 20/32 | 28/45 | 914 | AUMA SAR 10.2/LE50/1-F10 | 26,4 | 0,12 | 30 | |
| 1438-20-ЭД-06 … -13 | 20 | вода | 37,3 | 20 | 16 | Э | 70 | 115 | 50 | 280 | 0,3 … 2,9 | 12 | 20/32 | 28/45 | 914 | AUMA SAR 10.2/LE50/1-F11 | 14,6 | 0,12 | 30 | |
| 1438-20-ЭЧ … -05 | 20 | вода | 37,3 | 20 | 29 | Э | 70 | 115 | 36,7 | 280 | 0,8 … 2,9 | 4 | 20/32 | 28/45 | 880 | МЭП-25000/100-50У-00К У2 | 58 | 0,2 | 6,7 | |
| 1438-20-ЭЧ-06 … -13 | 20 | вода | 37,3 | 20 | 16 | Э | 70 | 115 | 36,7 | 280 | 0,3 … 2,9 | 12 | 20/32 | 28/45 | 880 | МЭП-25000/100-50У-00К У2 | 32 | 0,2 | 6,7 | |
| 1031-20-0 | 20 | пар | 25,0 | 12Х1МФ | 5 | 20 | М | 160 | 46 | 5,8 | 545 | 6,17 | крит. | 20 | 32 | 280 | ||||
| 1031-20-ЭД | 20 | пар | 25,0 | 12Х1МФ | 5 | 20 | Э | 160 | 46 | 33 | 545 | 6,17 | крит. | 20 | 32 | 562 | AUMA SAR 10.2-F10-C28 | 13,6 | 0,25 | 8 |
| 1031-20-ЭН | 20 | пар | 25,0 | 12Х1МФ | 5 | 20 | Э | 160 | 46 | 24,1 | 545 | 6,17 | крит. | 20 | 32 | 537 | ЭП-Р-100-ХХ-А2-Т-В-У1 | 15 | 0,45 | 9,1 |
| 1031-20-ЭЧ | 20 | пар | 25,0 | 12Х1МФ | 5 | 20 | Э | 160 | 46 | 28,7 | 545 | 6,17 | крит. | 20 | 32 | 799 | ПЭМ-А33У У2 | 25 | 0,18 | 5,7 |
| 1033-20-Р | 20 | вода-пар | (10,0) | 20 | 22 | Р | 160 | 46 | 5,9 | (450) | 5,3 | 1 | 20 | 32 | 250 | МЭО-250/25-0,25У-99К У2 | 13 | 0,22 | ||
| 1523-20-Р | 20 | вода-пар | (10,0) | 20 | 22 | Р | 160 | 46 | 5,9 | (450) | 1,3 | 1 | 20 | 32 | 250 | МЭО-250/25-0,25У-99К У2 | 13 | 0,22 | ||
| 1193-32-М | 32 | пар | 25,0 | 12Х1МФ | 4 | 25 | М | 220 | 85 | 36 | 545 | 18 | крит. | 31 | 66 | 517 | ||||
| 1193-32-Р | 32 | пар | 25,0 | 12Х1МФ | 25 | Р | 220 | 85 | 33,7 | 545 | 18 | крит. | 31 | 66 | 527 | МЭО-1600/25-0,25У-92К У2 | 8 | 0,31 | ||
| 1193-32-ЭД | 32 | пар | 25,0 | 12Х1МФ | 25 | Э | 220 | 85 | 74 | 545 | 18 | крит. | 31 | 66 | 1100 | AUMA SAR 10.2 / LE50.1-F10 | 22,7 | 0,25 | 52 | |
| 1193-32-ЭЧ | 32 | пар | 25,0 | 12Х1МФ | 25 | Э | 220 | 85 | 68 | 545 | 18 | крит. | 31 | 66 | 1115 | МЭП-25000/50-25У-00К У2 | 50 | 0,2 | 38 | |
| 1521-32-Р | 32 | вода-пар | (10,0) | 20 | 24 | Р | 230 | 47 | 5,6 | (450) | 3,2 | 1 | 32 | 40 | 210 | МЭО-250/25-0,25У-99К У2 | 10 | 0,17 | ||
| 1522-32-М | 32 | вода-пар | (10,0) | 20 | 6 | 24 | М | 230 | 47 | 6,7 | (450) | 2,7 | 1 | 32 | 42 | 303 | ||||
| 1464-40-М … -05 | 40 | вода | 37,3 | 20 | 8,2 | 49 | М | 100 | 150 | 37 | 280 | 4,5 … 22 | 4 | 39 | 60 | 679 | ||||
| 1464-40-Р … -05 | 40 | вода | 37,3 | 20 | 49 | Р | 100 | 150 | 37 | 280 | 4,5 … 22 | 4 | 39 | 60 | 480 | МЭО-1600/25-0,25У-92К У2 | 17 | 0,32 | ||
| 1464-40-ЭД … -05 | 40 | вода | 37,3 | 20 | 49 | Э | 100 | 150 | 66,5 | 280 | 4,5 … 22 | 4 | 39 | 60 | 1029 | AUMA SAR 10.2 / LE50.1-F10 | 44,5 | 0,25 | 44,5 | |
| 1464-40-ЭЧ … -05 | 40 | вода | 37,3 | 20 | 49 | Э | 100 | 150 | 51,2 | 280 | 4,5 … 22 | 4 | 39 | 60 | 1070 | МЭП-25000/100-50У-00К У2 | 98 | 0,2 | 21,2 | |
| 1192-40-М-06 … -08 | 40 | вода | 37,3 | 20 | 8,2 | 49 | М | 100 | 150 | 39 | 280 | 4,5 … 6,5 | 12 | 39 | 60 | 710 | ||||
| 1192-40-Р-06 … -08 | 40 | вода | 37,3 | 20 | 49 | Р | 100 | 150 | 37 | 280 | 4,5 … 6,5 | 12 | 39 | 60 | 480 | МЭО-1600/25-0,25У-92К У2 | 17 | 0,32 | ||
| 1192-40-ЭД-06 … -08 | 40 | вода | 37,3 | 20 | 49 | Э | 100 | 150 | 68,5 | 280 | 4,5 … 6,5 | 12 | 39 | 60 | 1058 | AUMA SAR 10.2 / LE50.1-F10 | 44,5 | 0,25 | 46,5 | |
| 1192-40-ЭЧ-06 … -08 | 40 | вода | 37,3 | 20 | 49 | Э | 100 | 150 | 55 | 280 | 4,5 … 6,5 | 12 | 39 | 60 | 1098 | МЭП-25000/100-50У-00К У2 | 98 | 0,2 | 25 | |
| 815-40-Рв | 40 | пар | 25,0 | 12Х1МФ | 44 | Р | 190 | 90 | 22,7 | 545 | 11,5 | крит. | 31 | 60 | 485 | МЭО-630/10-0,25У-96К У2 | 25 | 0,32 | ||
| 815-40-Рв-01 | 40 | пар | 15,7 | 12Х1МФ | 44 | Р | 190 | 90 | 22,7 | 545 | 25 | крит. | 31 | 60 | 485 | МЭО-630/10-0,25У-96К У2 | 25 | 0,22 | ||
| 814-50-Р | 50 | вода | 37,3 | 12Х1МФ | 48 | Р | 190 | 88 | 21,7 | 280 | 17,5 | 10 | 43 | 65 | 405 | МЭО-630/10-0,25У-96К У2 | 21 | 0,32 | ||
| 1195-50-М | 50 | пар | 13,7 | 12Х1МФ | 4,2 | 25 | М | 250 | 95 | 38 | 560 | 29 | крит. | 50 | 80 | 530 | ||||
| 1195-50-Р | 50 | пар | 13,7 | 12Х1МФ | 25 | Р | 250 | 95 | 38 | 560 | 29 | крит. | 50 | 80 | 540 | МЭО 1600/25-0,25-У-92К | 10 | 0,32 | ||
| 1195-50-ЭД | 50 | пар | 13,7 | 12Х1МФ | 25 | Э | 250 | 95 | 78 | 560 | 29 | крит. | 50 | 80 | 1110 | AUMA SAR 10.2 / LE50.1-F10 | 22,7 | 0,25 | 56 | |
| 1195-50-ЭЧ | 50 | пар | 13,7 | 12Х1МФ | 25 | Э | 250 | 95 | 68 | 560 | 29 | крит. | 50 | 80 | 1240 | МЭП-25000/50-25У-00К У2 | 50 | 0,2 | 38 | |
| 811-50-Р-5,9 … 28,4 | 50 | пар | 13,7 | 12Х1МФ | 44 | Р | 190 | 90 | 22,5 | 560 | 5,9 … 28,4 | крит. | 50 | 75 | 395 | МЭО-630/10-0,25У-96К У2 | 21 | 0,22 | ||
| 1521-50-Р … -01 | 50 | вода-пар | (10,0) | 20 | 30 | Р | 240 | 68 | 8,3 | (450) | 5,75…10,25 | 1 | 50 | 58 | 226 | МЭО-250/25-0,25У-99К У2 | 15 | 0,22 | ||
| 1522-50-М | 50 | вода-пар | (10,0) | 20 | 6,5 | 26 | М | 240 | 68 | 9,4 | (450) | 5,75 | 1 | 50 | 58 | 317 | ||||
| 1198-65-М | 65 | вода | 23,5 | 20 | 4,2 | 25 | М | 250 | 95 | 38 | 250 | 30 | 4 | 58 | 80 | 535 | ||||
| 1198-65-Р | 65 | вода | 23,5 | 20 | 25 | Р | 250 | 95 | 37 | 250 | 30 | 4 | 58 | 80 | 536 | МЭО-1600/25-0,25У-92К У2 | 10 | 0,32 | ||
| 1198-65-ЭД | 65 | вода | 23,5 | 20 | 25 | Э | 250 | 95 | 78 | 250 | 30 | 4 | 58 | 80 | 1110 | AUMA SAR 10.2 / LE50.1-F10 | 22,7 | 0,25 | 56 | |
| 1198-65-ЭЧ | 65 | вода | 23,5 | 20 | 25 | Э | 250 | 95 | 68 | 250 | 30 | 4 | 58 | 80 | 1240 | МЭП-25000/50-25У-00К У2 | 25 | 0,2 | 38 | |
| 1436-65-М … -05 | 65 | вода | 23,5 | 20 | 8,2 | 49 | М | 100 | 150 | 37 | 250 | 4,5 … 22 | 4 | 58 | 76 | 679 | ||||
| 1436-65-Р … -05 | 65 | вода | 23,5 | 20 | 49 | Р | 100 | 150 | 37 | 250 | 4,5 … 22 | 4 | 58 | 76 | 935 | МЭО-1600/25-0,25У-92К У2 | 17 | 0,32 | ||
| 1436-65-ЭД … -05 | 65 | вода | 23,5 | 20 | 49 | Э | 100 | 150 | 67 | 250 | 4,5 … 22 | 4 | 58 | 76 | 1029 | AUMA SAR 07.6/LE25.1-F10 | 53,5 | 0,06 | 45 | |
| 1436-65-ЭЧ … -05 | 65 | вода | 23,5 | 20 | 49 | Э | 100 | 150 | 53 | 250 | 4,5 … 22 | 4 | 58 | 76 | 1079 | МЭП-25000/100-50У-00К У2 | 98 | 0,2 | 23 | |
| 976-65-М | 65 | вода | 23,5 | 20 | 6 | 36 | М | 250 | 95 | 38 | 250 | 25 | 1 | 58 | 80 | 555 | ||||
| 976-65-Э | 65 | вода | 23,5 | 20 | 6 | 36 | Э | 250 | 95 | 133 | 250 | 25 | 1 | 58 | 80 | 812 | 792-Э-0а-01 | 18 | 1,32 | 60 |
| 976-65-ЭД | 65 | вода | 23,5 | 20 | 6 | 36 | Э | 250 | 95 | 89,5 | 250 | 25 | 1 | 58 | 80 | 837 | AUMA SAR 14.6-F14-C38 | 16 | 0,8 | 36,5 |
| 976-65-ЭН | 65 | вода | 23,5 | 20 | 6 | 36 | Э | 250 | 95 | 81 | 250 | 25 | 1 | 58 | 80 | 811 | ЭП-Р-300-12-Б1-Т-А-У1 | 30 | 0,75 | 43 |
| 976-65-ЭЧ | 65 | вода | 23,5 | 20 | 6 | 36 | Э | 250 | 95 | 81 | 250 | 25 | 1 | 58 | 80 | 1238 | ПЭМ-Б1У У2 | 15 | 0,55 | 43 |
| 868-65-ЭЧ… -05 | 65 | вода | 23,5 | 20 | 9,8 | 49 | Э | 100 | 150 | 53,7 | 250 | 4,5 … 22,0 | 4 | 58 | 76 | 1023 | ПЭМ-А33У У2 | 49 | 0,18 | 30,7 |
| 868-65-ЭА… -05 | 65 | вода | 23,5 | 20 | 9,8 | 49 | Э | 100 | 150 | 76,5 | 250 | 4,5 … 22,0 | 4 | 58 | 76 | 745 | 821-ЭР-0б | 33 | 0,37 | 57,5 |
| 879-65-Ра … -04 | 65 | вода | 23,5 | 20 | 24 | Р | 100 | 180 | 40 | 250 | 1,4 … 5,6 | 15 | 58 | 76 | 378 | МЭО-1600/25-0,25У-96К У2 | 15 | 0,32 | ||
| 808-65-Р-9,0 …48,0 | 65 | пар | 9,8 | 12Х1МФ | 48 | Р | 190 | 70 | 22 | 540 | 9,0 …48,0 | крит. | 62 | 76 | 413 | МЭО-630/10-0,25У-96К У2 | 21 | 0,22 | ||
| 1197-65-М | 65 | пар | 9,8 | 12Х1МФ | 4,2 | 25 | М | 250 | 95 | 38 | 540 | 29 | крит. | 62 | 80 | 535 | ||||
| 1197-65-Р | 65 | пар | 9,8 | 12Х1МФ | 25 | Р | 250 | 95 | 37 | 540 | 29 | крит. | 62 | 80 | 536 | МЭО-1600/25-0,25У-92К У2 | 10 | 0,32 | ||
| 1197-65-ЭД | 65 | пар | 9,8 | 12Х1МФ | 25 | Э | 250 | 95 | 78 | 540 | 29 | крит. | 62 | 80 | 1110 | AUMA SAR 10.2 / LE50.1-F10 | 22,7 | 0,25 | 56 | |
| 1197-65-ЭЧ | 65 | пар | 9,8 | 12Х1МФ | 25 | Э | 250 | 95 | 68 | 540 | 29 | крит. | 62 | 80 | 1240 | МЭП-25000/50-25У-00К У2 | 50 | 0,2 | 38 | |
| 1084-100-Эа … -03 | 100 | вода | 37,3 | 20ГСЛ | 10 | 60 | Э | 400 | 125 | 277 | 280 | 15,7 … 97,8 | 7 | 98 | 146 | 1064 | 792-ЭР-0а | 30 | 1,32 | 180 |
| 1084-100-ЭД … -03 | 100 | вода | 37,3 | 20ГСЛ | 10 | 60 | Э | 400 | 125 | 241 | 280 | 15,7 … 97,8 | 7 | 98 | 146 | 1119 | AUMA SAR 14.6-F14-C38 | 27 | 0,8 | 188 |
| 1084-100-ЭЧ … -03 | 100 | вода | 37,3 | 20ГСЛ | 10 | 60 | Э | 400 | 125 | 279 | 280 | 15,7 … 97,8 | 7 | 98 | 146 | 1390 | ПЭМ-В3 630 25 36 У У2 | 24 | 2,2 | 192 |
| 993-100-Эа … -01 | 100 | пар | 28,4 | 15Х1М1ФЛ | 15 | 90 | Э | 500 | 120 | 298 | 510 | 84 … 155 | 3 | 102 | 146 | 813 | 792-ЭР-0аI | 22 | 1,7 | 201 |
| 993-100-ЭД ... -01 | 100 | пар | 28,4 | 15Х1М1ФЛ | 15 | 90 | Э | 550 | 120 | 262 | 510 | 84 … 155 | 3 | 102 | 146 | 813 | AUMA SAR 14.6-F14-C38 | 20 | 1,6 | 209 |
| 993-100-ЭЧ … -01 | 100 | пар | 28,4 | 15Х1М1ФЛ | 15 | 90 | Э | 500 | 120 | 120 | 510 | 84 … 155 | 3 | 102 | 146 | 813 | ПЭМ-В11 630 50 36 У У2 | 18 | 4,8 | 23 |
| 1233-100-Э … -02 | 100 | пар | 25,0 | 15Х1М1ФЛ | 16 | 125 | Э | 600 | 295 | 512 | 545 | 100 … 170 | крит. | 97 | 172 | 1410 | 793-ЭР-0I | 22 | 3,2 | 377 |
| 1233-100-ЭД … -02 | 100 | пар | 25,0 | 15Х1М1ФЛ | 16 | 125 | Э | 600 | 295 | 472 | 545 | 100 … 170 | крит. | 97 | 172 | 1468 | AUMA SAR 16.2-F16-C47 | 21 | 3 | 393 |
| 1233-100-ЭЧ … -02 | 100 | пар | 25,0 | 15Х1М1ФЛ | 16 | 125 | Э | 600 | 295 | 490 | 545 | 100 … 170 | крит. | 97 | 172 | 1760 | ПЭМ-В43 1000 50 36 У У2 | 19 | 4,8 | 393 |
| 1086-100-Э | 100 | вода | 23,5 | 20ГСЛ | 10 | 60 | Э | 400 | 125 | 277 | 250 | 36,3 | 7 | 109 | 146 | 1064 | 792-ЭР-0а | 30 | 1,32 | 180 |
| 1086-100-ЭД | 100 | вода | 23,5 | 20ГСЛ | 10 | 60 | Э | 400 | 125 | 241 | 250 | 36,3 | 7 | 109 | 146 | 1119 | AUMA SAR 14.6-F14-C38 | 27 | 0,8 | 188 |
| 1086-100-ЭЧ | 100 | вода | 23,5 | 20ГСЛ | 10 | 60 | Э | 400 | 125 | 279 | 250 | 36,3 | 7 | 109 | 146 | 1390 | ПЭМ-В3 630 25 36 У У2 | 24 | 2,2 | 192 |
| 1086-100-Э-01 … -03 | 100 | вода | 23,5 | 20ГСЛ | 10 | 60 | Э | 400 | 125 | 280 | 250 | 15,7 … 97,8 | 7 | 109 | 146 | 1064 | 792-ЭР-0аI | 15 | 1,7 | 180 |
| 1086-100-ЭД-01 … -03 | 100 | вода | 23,5 | 20ГСЛ | 10 | 60 | Э | 400 | 125 | 241 | 250 | 15,7 … 97,8 | 7 | 109 | 146 | 1160 | AUMA SAR 14.6-F14-C38 | 13,4 | 1,6 | 188 |
| 1086-100-ЭЧ-01 … -03 | 100 | вода | 23,5 | 20ГСЛ | 10 | 60 | Э | 400 | 125 | 269 | 250 | 15,7 … 97,8 | 7 | 109 | 146 | 1435 | ПЭМ-В3 630 25 36 У У2 | 24 | 2,2 | 182 |
| 976-100-Э | 100 | вода | 23,5 | 20ГСЛ | 15 | 90 | Э | 500 | 120 | 297 | 250 | 34,4 | 2 | 114 | 146 | 1102 | 792-ЭР-0аI | 22 | 1,7 | 200 |
| 976-100-ЭД | 100 | вода | 23,5 | 20ГСЛ | 15 | 90 | Э | 500 | 120 | 261 | 250 | 34,4 | 2 | 114 | 146 | 1198 | AUMA SAR 14.6-F14-C38 | 20 | 1,6 | 208 |
| 976-100-ЭЧ | 100 | вода | 23,5 | 20ГСЛ | 15 | 90 | Э | 500 | 120 | 299 | 250 | 34,4 | 2 | 114 | 146 | 1473 | ПЭМ-В3 630 25 36 У У2 | 36 | 2,2 | 202 |
| 1416-100-Р .. -02 | 100 | вода | 23,5 | 20ГСЛ | 0,25 | Р | 400 | 120 | 205 | 250 | 38,5 … 95 | 17,6 | 109 | 146 | 734 | МЭО-630/10-0,25-У-92К-У2 | 10 | 0,32 | ||
| 1416-100-ЭЧ … -02 | 100 | вода | 23,5 | 20ГСЛ | 0,25 | Э | 400 | 120 | 351 | 250 | 38,5 … 95 | 17,6 | 109 | 146 | 1330 | МЭОФ-630/10-0,25У-96К У2 | 10 | 0,32 | 227 | |
| 1416-100.1-ЭЧ | 100 | вода | 23,5 | 20ГСЛ | 0,25 | Э | 400 | 120 | 333 | 250 | 38,5 … 95 | 17,6 | 109 | 146 | 1330 | МЭОФ-630/10-0,25У-96К У2 | 10 | 0,32 | 266 | |
| 1416-100.1-ЭД | 100 | вода | 23,5 | 20ГСЛ | 0,25 | Э | 400 | 120 | 310 | 250 | 38,5 … 95 | 17,6 | 109 | 146 | 1330 | AUMA SQR 12.2-F12 | 16 | 0,10 | 266 | |
| 1087-100-Э … -02 | 100 | пар | 13,7 | 15Х1М1ФЛ | 10 | 60 | Э | 400 | 125 | 277 | 560 | 15,7 … 97,8 | крит. | 94 | 146 | 1064 | 792-ЭР-0аI | 15 | 1,7 | 180 |
| 1087-100-ЭД … -02 | 100 | пар | 13,7 | 15Х1М1ФЛ | 10 | 60 | Э | 400 | 125 | 241 | 560 | 15,7 … 97,8 | крит. | 94 | 146 | 1160 | AUMA SAR 14.6-F14-C38 | 13,4 | 1,6 | 188 |
| 1087-100-ЭЧ … -02 | 100 | пар | 13,7 | 15Х1М1ФЛ | 10 | 60 | Э | 400 | 125 | 269 | 560 | 15,7 … 97,8 | крит. | 94 | 146 | 1435 | ПЭМ-В3 630 25 36 У У2 | 24 | 2,2 | 182 |
| 1085-100-Э … -02 | 100 | пар | 9,8 | 15Х1М1ФЛ | 10 | 60 | Э | 400 | 125 | 280 | 540 | 15,7 … 97,8 | крит. | 112 | 146 | 1064 | 792-ЭР-0аI | 15 | 1,7 | 180 |
| 1085-100-ЭД … -02 | 100 | пар | 9,8 | 15Х1М1ФЛ | 10 | 60 | Э | 400 | 125 | 241 | 540 | 15,7 … 97,8 | крит. | 112 | 146 | 1119 | AUMA SAR 14.6-F14-C38 | 13,4 | 1,6 | 188 |
| 1085-100-ЭЧ … -02 | 100 | пар | 9,8 | 15Х1М1ФЛ | 10 | 60 | Э | 400 | 125 | 279 | 540 | 15,7 … 97,8 | крит. | 112 | 146 | 1435 | ПЭМ-В11 630 50 36 У У2 | 12 | 4,8 | 182 |
| 976-100-Э-01 | 100 | вода | (10,0) | 20ГСЛ | 15 | 90 | Э | 500 | 120 | 297 | (450) | 17,7 | 7 | 114 | 146 | 1102 | 792-ЭР-0аI | 22 | 1,7 | 200 |
| 976-100-ЭД-01 | 100 | вода | (10,0) | 20ГСЛ | 15 | 90 | Э | 500 | 120 | 261 | (450) | 17,7 | 7 | 114 | 146 | 1198 | AUMA SAR 14.6-F14-C38 | 20 | 1,6 | 208 |
| 976-100-ЭЧ-01 | 100 | вода | (10,0) | 20ГСЛ | 15 | 90 | Э | 500 | 120 | 299 | (450) | 17,7 | 7 | 114 | 146 | 1473 | ПЭМ-В11 630 50 36 У У2 | 18 | 4,8 | 202 |
| 995-150-Эа … -02 | 150 | пар | 9,8 | 15Х1М1ФЛ | 17,5 | 140 | Э | 600 | 290 | 600 | 540 | 130 … 280 | крит. | 163 | 210 | 1426 | 793-ЭР-0I | 24 | 3,2 | 465 |
| 995-150-ЭД … -02 | 150 | пар | 9,8 | 15Х1М1ФЛ | 17,5 | 140 | Э | 600 | 290 | 564 | 540 | 130 … 280 | крит. | 163 | 210 | 1518 | AUMA SAR 16.2-F16-C52 | 23 | 3 | 485 |
| 995-150-ЭЧ … -02 | 150 | пар | 9,8 | 15Х1М1ФЛ | 17,5 | 140 | Э | 600 | 290 | 555 | 540 | 130 … 280 | крит. | 163 | 210 | 1807 | ПЭМ-В3 630 25 36 У У2 | 42 | 2,2 | 468 |
| 993-175-Эб … -01 | 175 | пар | 28,4 | 15Х1М1ФЛ | 17,5 | 140 | Э | 600 | 290 | 600 | 510 | 210 … 280 | крит. | 170 | 230 | 1426 | 793-ЭР-0 | 48 | 3,2 | 467 |
| 993-175-ЭД … -01 | 175 | пар | 28,4 | 15Х1М1ФЛ | 17,5 | 140 | Э | 600 | 290 | 578 | 510 | 210 … 280 | крит. | 170 | 230 | 1518 | AUMA SAR 16.2-F16-C52 | 33 | 3,2 | 499 |
| 993-175-ЭЧ … -01 | 175 | пар | 28,4 | 15Х1М1ФЛ | 17,5 | 140 | Э | 600 | 290 | 585 | 510 | 210 … 280 | крит. | 170 | 230 | 1827 | ПЭМ-В65 1500 25 36 У У1 | 42 | 4 | 490 |
| 976-175-Эб … -01 | 175 | вода | 23,5 | 20ГСЛ | 17,5 | 140 | Э | 600 | 290 | 584 | 250 | 42 … 280 | 3,9 | 182 | 230 | 1426 | 793-ЭР-0-02 | 48 | 1,32 | 467 |
| 976-175-ЭД … -01 | 175 | вода | 23,5 | 20ГСЛ | 17,5 | 140 | Э | 600 | 290 | 566 | 250 | 42 … 280 | 3,9 | 182 | 230 | 1518 | AUMA SAR 16.2-F16-C52 | 48 | 1,5 | 487 |
| 976-175-ЭЧ … -01 | 175 | вода | 23,5 | 20ГСЛ | 17,5 | 140 | Э | 600 | 290 | 574 | 250 | 42 … 280 | 3,9 | 182 | 230 | 1762 | ПЭМ-В3 630 25 36 У У2 | 42 | 2,2 | 487 |
| 1416-175-Р … -02 | 175 | вода | 23,5 | 20ГСЛ | 0,25 | Р | 650 | 185 | 698 | 250 | 77 … 134 | 17,6 | 182 | 230 | 1073 | МЭО-1600/25-0,25У-92К У2 | 25 | 0,32 | ||
| 1416-175-ЭЧ … -02 | 175 | вода | 23,5 | 20ГСЛ | 0,25 | Э | 650 | 185 | 857 | 250 | 77 … 134 | 17,6 | 182 | 230 | 1631 | МЭОФ-1600/25-0,25У-96К У2 | 25 | 0,32 | 733 | |
| 1416-175.1-ЭЧ | 175 | вода | 23,5 | 20ГСЛ | 0,25 | Э | 650 | 185 | 857 | 250 | 77 … 134 | 17,6 | 182 | 230 | 1631 | МЭОФ-1600/25-0,25У-96К У3 | 25 | 0,32 | 733 | |
| 1416-175.1-ЭД | 175 | вода | 23,5 | 20ГСЛ | 0,25 | Э | 650 | 185 | 781 | 250 | 77 … 134 | 17,6 | 182 | 230 | 1631 | AUMA SQR 14.2-F14 | 36 | 0,10 | 733 | |
| 977-175-Эа … -02 | 175 | пар | 13,7 | 15Х1М1ФЛ | 17,5 | 140 | Э | 600 | 290 | 605 | 560 | 130 … 280 | крит. | 156 | 235 | 1426 | 793-ЭР-0I | 24 | 3,2 | 470 |
| 977-175-ЭД … -02 | 175 | пар | 13,7 | 15Х1М1ФЛ | 17,5 | 140 | Э | 600 | 290 | 582 | 560 | 130 … 280 | крит. | 156 | 235 | 1518 | AUMA SAR 16.2-F16-C52 | 23 | 3 | 503 |
| 977-175-ЭЧ … -02 | 175 | пар | 13,7 | 15Х1М1ФЛ | 17,5 | 140 | Э | 600 | 290 | 567 | 560 | 130 … 280 | крит. | 156 | 235 | 1762 | ПЭМ-В3 630 25 36 У У2 | 42 | 2,2 | 480 |
| 870-200-Эм | 200 | вода | 37,3 | 20ГСЛ | 12,5 | 100 | Э | 700 | 160 | 489 | 280 | 84,67 | 4 | 203 | 290 | 1253 | 793-ЭР-0-04 | 35 | 1,7 | 354 |
| 870-200-ЭД | 200 | вода | 37,3 | 20ГСЛ | 12,5 | 100 | Э | 700 | 160 | 454 | 280 | 84,67 | 4 | 203 | 290 | 1309 | AUMA SAR 14.6-F14-C38 | 34 | 0,8 | 401 |
| 870-200-ЭЧ | 200 | вода | 37,3 | 20ГСЛ | 12,5 | 100 | Э | 700 | 160 | 477 | 280 | 84,67 | 4 | 203 | 290 | 1589 | ПЭМ-В3 630 25 36 У У2 | 30 | 2,2 | 390 |
| 1416-225-Р … -03 | 225 | вода | 23,5 | 20ГСЛ | 0,25 | Р | 650 | 205 | 845 | 250 | 77 … 217 | 17,6 | 226 | 285 | 1218 | МЭО-1600/25-0,25У-92К У2 | 25 | 0,32 | ||
| 1416-225-ЭЧ … -03 | 225 | вода | 23,5 | 20ГСЛ | 0,25 | Э | 650 | 205 | 1004 | 250 | 77 … 217 | 17,6 | 226 | 285 | 1776 | МЭОФ-1600/25-0,25У-96К У2 | 25 | 0,32 | 880 | |
| 1416-225.1-ЭЧ | 225 | вода | 23,5 | 20ГСЛ | 0,25 | Э | 650 | 205 | 1004 | 250 | 77 … 217 | 17,6 | 226 | 285 | 1776 | МЭОФ-1600/25-0,25У-96К У2 | 25 | 0,32 | 880 | |
| 1416-225.1-ЭД | 225 | вода | 23,5 | 20ГСЛ | 0,25 | Э | 650 | 205 | 928 | 250 | 77 … 217 | 17,6 | 226 | 285 | 1776 | AUMA SQR 14.2-F14 | 36 | 0,10 | 880 | |
| 992-250-Эб | 250 | вода | 37,3 | 20ГСЛ | 24,4 | 195 | Э | 800 | 265 | 1555 | 280 | 238 | 4 | 245 | 345 | 1900 | 795-ЭР-0-V | 69 | 3,2 | 1377 |
| 992-250-ЭД | 250 | вода | 37,3 | 20ГСЛ | 24,4 | 195 | Э | 800 | 265 | 1503 | 280 | 238 | 4 | 245 | 345 | 2055 | AUMA SAR 25.1-F25-C64 | 133 | 3 | 1353 |
| 1157-250-Г | 250 | пар | 28,4 | 15Х1М1ФЛ | 22,5 | 180 | Э | 800 | 265 | 1291 | 510 | 330 | крит. | 249 | 345 | 1790 | 876-КЭР-0 | 32 | 8,5 | 895 |
| 1157-250-Э | 250 | пар | 28,4 | 15Х1М1ФЛ | 22,5 | 180 | Э | 800 | 265 | 1602 | 510 | 330 | крит. | 249 | 345 | 1855 | 876-Э-0-07 | 32 | 8,5 | 1287 |
| 993-250-Эб | 250 | пар | 28,4 | 15Х1М1ФЛ | 20 | 160 | Э | 800 | 265 | 1534 | 510 | 400 | крит. | 249 | 345 | 2010 | 876-Э-0-08 | 57 | 6 | 1249 |
| 993-250-Эб-01 | 250 | пар | 28,4 | 15Х1М1ФЛ | 25 | 200 | Э | 800 | 265 | 1534 | 510 | 600 | крит. | 249 | 345 | 2010 | 876-Э-0-08 | 71 | 6 | 1249 |
| 1416-250-Р … -02 | 250 | вода | 23,5 | 20ГСЛ | 0,25 | Р | 900 | 220 | 1018 | 250 | 146 … 233 | 17,6 | 271 | 340 | 1186 | МЭО-1600/25-0,25У-92К У2 | 25 | 0,32 | ||
| 1416-250-ЭЧ … -02 | 250 | вода | 23,5 | 20ГСЛ | 0,25 | Э | 900 | 220 | 1180 | 250 | 146 … 233 | 17,6 | 271 | 340 | 1778 | МЭОФ-1600/25-0,25У-96К У2 | 25 | 0,32 | 1056 | |
| 1416-250.1-ЭЧ | 250 | вода | 23,5 | 20ГСЛ | 0,25 | Э | 900 | 220 | 1180 | 250 | 146 … 233 | 17,6 | 271 | 340 | 1778 | МЭОФ-1600/25-0,25У-96К У2 | 25 | 0,32 | 1056 | |
| 1416-250.1-ЭД | 250 | вода | 23,5 | 20ГСЛ | 0,25 | Э | 900 | 220 | 1104 | 250 | 146 … 233 | 17,6 | 271 | 340 | 1778 | AUMA SQR 14.2-F14 | 36 | 0,10 | 1056 | |
| 976-250-Эб … -02 | 250 | вода | 23,5 | 20ГСЛ | 24,4 | 195 | Э | 800 | 265 | 1475 | 250 | 192 … 900 | 4 | 271 | 340 | 1900 | 795-ЭР-0-V | 69 | 3,2 | 1297 |
| 976-250-ЭД … -02 | 250 | вода | 23,5 | 20ГСЛ | 24,4 | 195 | Э | 800 | 265 | 1427 | 250 | 192 … 900 | 4 | 271 | 340 | 2055 | AUMA SAR 25.1-F25-C64 | 133 | 3 | 1277 |
| 976-250-ЭЧ … -02 | 250 | вода | 23,5 | 20ГСЛ | 24,4 | 195 | Э | 800 | 265 | 1427 | 250 | 192 … 900 | 4 | 271 | 340 | 2055 | ПЭМ-В65 1500 25 36 У У1 | 133 | 4 | 1332 |
| 992-300-Эб | 300 | вода | 37,3 | 20ГСЛ | 24 | 190 | Э | 900 | 270 | 1531 | 280 | 452 | 3,9 | 281 | 400 | 1890 | 795-ЭР-0 | 68 | 4,25 | 1348 |
| 992-300-ЭД | 300 | вода | 37,3 | 20ГСЛ | 24 | 190 | Э | 900 | 270 | 1617 | 280 | 452 | 3,9 | 281 | 400 | 2045 | AUMA SAR 25.1-F25-C64 | 130 | 3 | 1467 |
| 992-300-ЭЧ | 300 | вода | 37,3 | 20ГСЛ | 24 | 190 | Э | 900 | 270 | 1392 | 280 | 452 | 3,9 | 281 | 400 | 2353 | ПЭМ-В65 1500 25 36 У У1 | 58 | 4 | 1297 |
| 992-300-Эб-01 | 300 | вода | 37,3 | 20ГСЛ | 25 | 200 | Э | 900 | 270 | 1531 | 280 | 665 | 3,9 | 281 | 400 | 1890 | 795-ЭР-0 | 70 | 4,25 | 1348 |
| 992-300-ЭД-01 | 300 | вода | 37,3 | 20ГСЛ | 25 | 200 | Э | 900 | 270 | 1617 | 280 | 665 | 3,9 | 281 | 400 | 2045 | AUMA SAR 25.1-F25-C64 | 136 | 3 | 1467 |
| 992-300-ЭЧ-01 | 300 | вода | 37,3 | 20ГСЛ | 25 | 200 | Э | 900 | 270 | 1392 | 280 | 665 | 3,9 | 281 | 400 | 2353 | ПЭМ-В65 1500 25 36 У У1 | 60 | 4 | 1297 |
| 992-300-Эб-02 | 300 | вода | 37,3 | 20ГСЛ | 26 | 210 | Э | 900 | 270 | 1531 | 280 | 1030 | 3,9 | 281 | 400 | 1890 | 795-ЭР-0 | 73 | 4,25 | 1348 |
| 992-300-ЭД-02 | 300 | вода | 37,3 | 20ГСЛ | 26 | 210 | Э | 900 | 270 | 1617 | 280 | 1030 | 3,9 | 281 | 400 | 2045 | AUMA SAR 25.1-F25-C64 | 142 | 3 | 1467 |
| 992-300-ЭЧ-02 | 300 | вода | 37,3 | 20ГСЛ | 26 | 210 | Э | 900 | 270 | 1392 | 280 | 1030 | 3,9 | 281 | 400 | 2353 | ПЭМ-В65 1500 25 36 У У1 | 52 | 4 | 1297 |
| 533-350-Э | 350 | пар | 4,0 | 15Х1М1ФЛ | 10,4 | 250 | Э | 850 | 245 | 1097 | 545 | 1680 | крит. | 345 | 390 | 1438 | 793-ЭР-0I | 14 | 3,2 | 988 |
| 533-350-ЭД | 350 | пар | 4,0 | 15Х1М1ФЛ | 10,4 | 250 | Э | 850 | 245 | 1073 | 545 | 1680 | крит. | 345 | 390 | 1530 | AUMA SAR 16.2-F16-C52 | 14 | 3 | 994 |
| 533-350-ЭЧ | 350 | пар | 4,0 | 15Х1М1ФЛ | 10,4 | 250 | Э | 850 | 245 | 1078 | 545 | 1680 | крит. | 345 | 390 | 1819 | ПЭМ-В43 1000 50 36 У У2 | 13 | 4,8 | 981 |
| 533-350-Э-01 | 350 | пар | 4,0 | 15Х1М1ФЛ | 20,8 | 250 | Э | 850 | 245 | 1095 | 545 | 1680 | крит. | 345 | 390 | 1438 | 793-ЭР-0 | 57 | 3,2 | 987 |
| 533-350-ЭД-01 | 350 | пар | 4,0 | 15Х1М1ФЛ | 20,8 | 250 | Э | 850 | 245 | 1061 | 545 | 1680 | крит. | 345 | 390 | 1530 | AUMA SAR 16.2-F16-C52 | 57 | 1,5 | 982 |
| 533-350-ЭЧ-01 | 350 | пар | 4,0 | 15Х1М1ФЛ | 20,8 | 250 | Э | 850 | 245 | 1068 | 545 | 1680 | крит. | 345 | 390 | 1774 | ПЭМ-В35 1000 25 36 У У2 | 50 | 2,2 | 981 |
| 533-350-10-450-Э | 350 | пар | (10,0) | 20ГСЛ | 20,8 | 250 | Э | 850 | 245 | 1218 | (450) | 1680 | 1,8 | 345 | 390 | 1683 | 795-ЭР-0-II-01 | 30 | 6 | 1033 |
| 533-350-10-450-ЭД | 350 | пар | (10,0) | 20ГСЛ | 20,8 | 250 | Э | 850 | 245 | 1145 | (450) | 1680 | 1,8 | 345 | 390 | 1505 | AUMA SAR 25.1-F25-C64 | 114 | 3 | 995 |
Пропускная способность Kv, м3/ч
Для просмотра смахните вбок
| Клапан | Базовое исполнение | -1 | -2 | -3 | -4 | -5 | -6 | -7 | -8 | -9 | -10 | -11 | -12 | -13 | Дополнительные | ||||
| 1438-20- | 2,9 | 2,7 | 2 | 1,8 | 1,4 | 0,8 | 2,9 | 2,7 | 2 | 1,8 | 1,4 | 0,8 | 0,5 | 0,3 | |||||
| 870-20- | 2,9 | 2,7 | 2 | 1,8 | 1,4 | 0,8 | |||||||||||||
| 1464-40- | 22 | 12 | 9 | 8 | 5,5 | 4,5 | |||||||||||||
| 1192-40- | 4,5 | 5,5 | 6,5 | ||||||||||||||||
| 1521-50-Р | 5,75 | 10,25 | |||||||||||||||||
| 1436-65- | 22 | 12 | 9 | 8 | 5,5 | 4,5 | |||||||||||||
| 868-65- | 22 | 12 | 9 | 8 | 5,5 | 4,5 | |||||||||||||
| 879-65- | 1,4 | 2,1 | 2,8 | 4,3 | 5,6 | ||||||||||||||
| 1084-100- | 15,7 | 24,2 | 36,3 | 97,8 | 57 | ||||||||||||||
| 993-100- | 84 | 155 | |||||||||||||||||
| 1233-100- | 102 | 170 | 143 | ||||||||||||||||
| 1086-100- | 36,3 | 96,7 | 36,3 | 24,2 | 15,7 | 57 | |||||||||||||
| 1416-100- | 95 | 68,3 | 38,5 | ||||||||||||||||
| 1087-100- | 96,7 | 57 | 15,7 | 24,2 | 36,3 | ||||||||||||||
| 1085-100- | 97,8 | 57 | 17,7 | 24,2 | 36,3 | ||||||||||||||
| 995-150- | 280 | 130 | 210 | 97 | 150 | ||||||||||||||
| 993-175- | 210 | 280 | 97 | 130 | 150 | ||||||||||||||
| 976-175- | 97 | 217 | 130 | 150 | 280 | ||||||||||||||
| 1416-175- | 134 | 99 | 77 | ||||||||||||||||
| 977-175- | 280 | 130 | 210 | 97 | 150 | ||||||||||||||
| 1416-225- | 217 | 146 | 125 | 77 | |||||||||||||||
| 993-250- | 400 | 600 | |||||||||||||||||
| 1416-250- | 233 | 167 | 146 | ||||||||||||||||
| 976-250- | 192 | 278 | 900 | ||||||||||||||||
| 992-300- | 452 | 665 | 1030 | ||||||||||||||||
| 533-350-10-450- | 440 | 620 | 860 | 1200 | 1680 | ||||||||||||||
| Возможно изготовление дроссельно-регулирующей арматуры с другими значениями пропускной способности. | |||||||||||||||||||
| 811-50-Р | 28,4 | 26,8 | 24 | 22,8 | 21 | 17,5 | 16 | 14,5 | 13,8 | 13 | 11,7 | 9,7 | 8,4 | 7,6 | 6,6 | 5,9 | |||
| 808-65-Р | 48 | 43,8 | 42,3 | 37,7 | 33,6 | 30,1 | 27,9 | 26,2 | 24,6 | 22,4 | 20,6 | 18,5 | 16,9 | 14,5 | 12,6 | 11 | 9 | ||